Masz pytania? Potrzebujesz pomocy? Zadzwoń +48 518 075 074

Menu

Dach Pergoli Silva – Pomiar i Dane Techniczne

Pomiar zadaszenia

S – szerokość tkaniny (od 200 do 500cm)
W – wysięg osłony (od 200 do 600cm)
P – rozstaw między prowadnicami (maksymalnie 400cm)

Pomiar zadaszenia

S – szerokość tkaniny (od 500 do 700cm)
W – wysięg osłony (od 200 do 600cm)
P1, P2 – rozstaw między prowadnicami

• Zależnie od podanych wymiarów, zamówiona konstrukcja zadaszenia będzie posiadała ilość modułów i prowadnic uwarunkowaną przez producenta.


Zadaszenie w wersji z napędem ręcznym

• Długość (wysięg) maksymalna do 600cm
• Długość (wysięg) prowadnicy po odjęciu uchwytów

Wysokość pakietu tkaniny ~30,5cm


Przekrój dachu w wersji z napędem ręcznym

• Długość (wysięg) maksymalna do 600cm
• Długość (wysięg) prowadnicy po odjęciu uchwytów


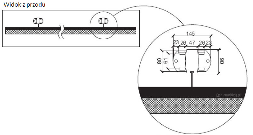
Wymiary uchwytu głównego wersji ręcznej

Zadaszenie w wersji z napędem elektrycznym

– Wymiary uchwytu głównego
– Długość (wysięg) maksymalna do 600cm
– Długość (wysięg) prowadnicy po odjęciu uchwytów i rury napędowej

Wysokość pakietu tkaniny ~30,5cm


Przekrój dachu w wersji z napędem elektrycznym

– Długość (wysięg) maksymalna do 600cm
– Długość (wysięg) prowadnicy po odjęciu uchwytów i rury napędowej

Wysokość pakietu tkaniny ~30,5cm


Wersja elektryczna – Schemat i zasada łączenia dwóch rur napędowych

Dach powyżej 5m szerokości ma 3 prowadnice dachowe.


Dla szerokości do 550 cm , prowadnice należy umieścić w rozstawie do 400 cm przy zestawie 2 prowadnic.
Prowadnice usytuowane skrajnie mogą występować tylko do szerokości 400 cm przy zestawie 2 prowadnic.

*Automatyka niewidoczna (wózki 6/9)
* Mocowanie międzyścienne


Przekroje elementów pergoli

– Profil pełny 90×50
– Profil łączący 90×50
– Prowadnica 90×50
– Belka przeciwietrzna


Spadek dachu – model z dwiema prowadnicami

Spadek możliwy na lewą lub prawą stronę

*Środkową prowadnicę można przesuwać pomiędzy prowadnicami skrajnymi w zakresie 2/3 – 1/3.


Pergola – Układ tkaniny (na wersji z napędem ręcznym)

*Standardowa wysokość fali 5-8cm. Na życzenie klienta można zmniejszyć lub zwiększyć wysokość fali.


Dach Pergoli Silva – Pomiar i Dane Techniczne - Pergola międzyścienna na prowadnicach, 2 prowadnice tkaniny, dach pergolowy prowadnice, Pergole dachowe profile przekroje, profil pełny pergoli, profil łączący pergoli, prowadnica pergoli, belka przeciwietrzna, Dach międzyścienny, pakiet tkaniny pergoli, Pergola supro plus rozstaw prowadnic dane techniczne