
Panel Żaluzjowy Louvre – Pomiar
Szerokość S – szerokość całkowita panelu
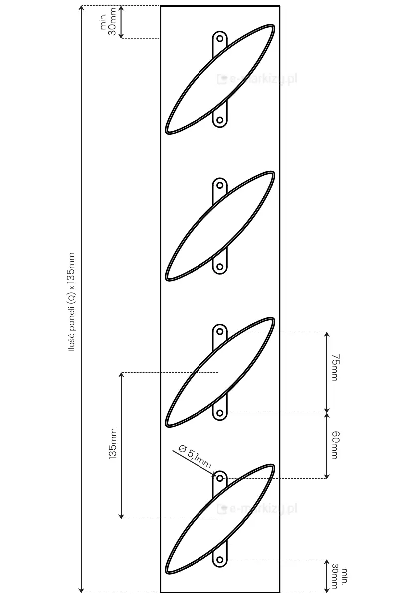
Wysokość H – wysokość całkowita systemu paneli

Przekrój panelu
• 140x36mm
Skrajne odstępy montażowe na górze i na dole systemu
System paneli obrotowych montowanych na prowadnicy

Przy pomiarze panelu żaluzjowego obrotowego
upewnij się, że pozostawiasz co najmniej 86 mm wolnej przestrzeni między najniższym otworem na śrubę a dolną krawędzią powierzchni, a także 86 mm przestrzeni między najwyższym otworem na śrubę a górną krawędzią powierzchni.
System paneli stałych montawanych bezpośrednio do konstrukcji

Przy pomiarze panelu żaluzjowego stałego upewnij się, że pozostawiasz co najmniej 30 mm wolnej przestrzeni między najniższym otworem na śrubę a dolną krawędzią powierzchni, a także 30 mm przestrzeni między najwyższym otworem na śrubę a górną krawędzią powierzchni.
Ta dodatkowa przestrzeń jest niezbędna do prawidłowego montażu lameli i zapewnia ich prawidłowe działanie.
| Lamele obracane | |
|---|---|
| wysokość | ilość paneli |
| 30,7cm | 2 |
| 44,2cm | 3 |
| 57,7cm | 4 |
| 71,2cm | 5 |
| 84,7cm | 6 |
| 98,2cm | 7 |
| 111,7cm | 8 |
| 125,2cm | 9 |
| 138,7cm | 10 |
| 152,2cm | 11 |
| 165,7cm | 12 |
| 179,2cm | 13 |
| 192,7cm | 14 |
| 206,2cm | 15 |
| 219,7cm | 16 |
| 233,2cm | 17 |
| 246,7cm | 18 |
| Lamele stałe | |
|---|---|
| wysokość | ilość paneli |
| 27cm | 2 |
| 40,5cm | 3 |
| 54cm | 4 |
| 67,5cm | 5 |
| 81cm | 6 |
| 94,5cm | 7 |
| 108cm | 8 |
| 121,5cm | 9 |
| 135cm | 10 |
| 148,5cm | 11 |
| 162cm | 12 |
| 175,5cm | 13 |
| 189cm | 14 |
| 202,5cm | 15 |
| 216cm | 16 |
| 229,5cm | 17 |
| 243cm | 18 |
| 256,5cm | 19 |
Zaślepki montażowe do paneli
Panel żaluzjowy obrotowy

ruch w zakresie od 30° do 60°

Panel żaluzjowy stały

montaż pod kątem 30°, 45° lub 60°

Zaślepki montażowe są wsuwane w szczeliny na końcach paneli po obu stronach.
Uwaga! Zaślepki montażowe dla lewej i prawej strony różnią się od siebie

Kolory paneli żaluzjowych
Dostępne kolory paneli żaluzjowych obejmują cztery odcienie: biały, zbliżony do RAL 9016, który nadaje konstrukcji czysty i nowoczesny wygląd; beżowy (kremowo-biały), zbliżony do RAL 9001, zapewniający ciepły i stonowany charakter; antracytowy, zbliżony do RAL 7024, idealny do współczesnych, minimalistycznych aranżacji; oraz czarny, zbliżony do RAL 9005, oferujący głęboki, wyrazisty efekt wizualny.