Masz pytania? Potrzebujesz pomocy? Zadzwoń +48 518 075 074

Menu

Refleksol 120 Podtynkowy – Sposoby montażu

Roleta typu refleksol podtynkowy 120 przeznaczona jest do montażu na zewnątrz budynku, na fasadzie lub wnęce. W zależności od wybranej opcji, stosuje się różne prowadnice i konfiguracje.


REFLEKSOL 120 PODTYNKOWY – PROWADNICE LISTWOWE GC30 I GC30R DO MONTAŻU NA ZEWNĄTRZ POMIESZCZEŃ


1. Prowadnice listwowe. Montaż we wnęce okiennej bez uchwytów

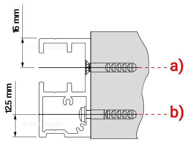
Prowadnice refleksola GC30R lub GC30 mogą być przykręcone doczołowo do ramy okna, ściany, fasady, bądź do boku wnęki.

Przy wyborze prowadnicy GC30R lub GC30, kasetę należy przykręcić na klipach lub bezpośrednio przewiercając w dowolnym miejscu.

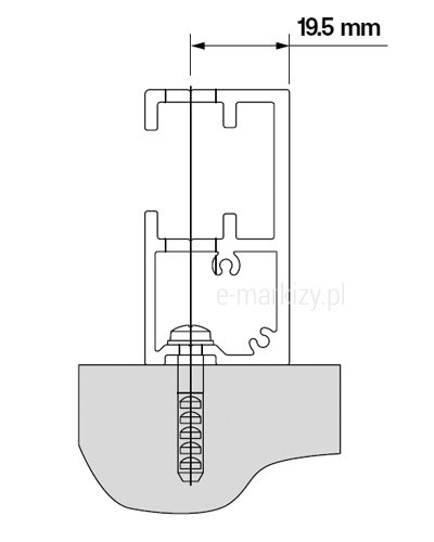
A. Montaż doczołowo do powierzni czołowej – np. do ramy okna, ściany, fasady. Stosujemy tu szeroką prowadnicę tzw. ościeżnicową GC30R

B. Montaż do boku wnęki okiennej. Stosujemy tu szeroką prowadnicę tzw. ościeżnicową GC30R

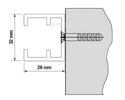
C. Montaż do boku wnęki okiennej. Stosujemy tu wąską prowadnicę standard GC30


REFLEKSOL PODTYNKOWY 120 – PROWADNICE LISTWOWE GC30F DO MONTAŻU NA ZEWNĄTRZ POMIESZCZEŃ

1. Prowadnice listwowe. Montaż kasety do sufitu. Montaż prowadnic do ściany/fasady/ramy na klipach montażowych (do powierzchni czołowej)

Prowadnice GC30F mogą zostać zamontowane za pomocą klipów montażowych do ramy okna lub ściany, zależnie od potrzeby.

Ilość uchwytów prowadnicy dobierana jest automatycznie na podstawie wysokości całkowitej systemu.

Kaseta jest mocowana bezpośrednio do sufitu.


2. Prowadnice listwowe. Montaż kasety do sufitu. Montaż prowadnic do ściany/fasady/ramy na klipach montażowych (do powierzchni czołowej)

Prowadnice GC30F mogą zostać zamontowane za pomocą klipów montażowych do ramy okna lub ściany, zależnie od potrzeby.

Ilość uchwytów prowadnicy dobierana jest automatycznie na podstawie wysokości całkowitej systemu.

Kaseta jest mocowana za pomocą kątownika italia do sufitu.


3. Prowadnice listwowe. Montaż do ściany/fasady/ramy na uchwytach (do powierzchni czołowej)

Prowadnice GC30F mogą zostać zamontowane za pomocą różnych uchwytów o stałej długości do ramy okna lub ściany, zależnie od potrzeby.

Ilość uchwytów prowadnicy dobierana jest automatycznie na podstawie wysokości całkowitej systemu.

Kaseta jest mocowana za pomocą uchwytu dystansowego do ściany.


REFLEKSOL PODTYNKOWY 120 – PROWADNICE LINKOWE DO MONTAŻU NA ZEWNĄTRZ POMIESZCZEŃ


1. Prowadnice linkowe. Montaż do sufitu LUB 2. Do ramy/ściany

Przy wyborze prowadnic linkowych, kaseta refleksola mocowana jest bezpośrednio do sufitu lub do ściany/ramy za pomocą klipów/uchwytów kasety. W nietypowych sytuacjach, kasetę możemy również przykręcić do powierzchni czołowej nie stosując żadnych uchwytów. W tym celu nawiercamy kasetę refleksola i mocujemy ją bezpośrednio do powierzchni.

Uchwyty linek mogą być montowane do powierzchni czołowej np. ramy/okna/fasady/ściany lub ewentualnie do podłoża-podłogi. Do uchwytu mocujemy specjalny napinacz linki, którego pozycję możemy regulować w pewnych zakresach. Napinacz pełni również funkcję naciągania linki (prowadnicy linkowej).

Uchwyty linki występują w różnych długościach i są regulowane w zakresach:
* L= regulacja od 15-36mm (Standardowa długość)
* L= regulacja od 29-50mm (Opcja-rzadziej stosowana długość)
* L= regulacja od 55-76mm (Opcja-rzadziej stosowana długość)