Refleksol 90 – Sposoby montażu
Roleta typu refleksol 90, może być mocowana na zewnątrz budynku lub wewnątrz pomieszczenia. W zależności od wybranej opcji, stosuje się różne prowadnice i konfiguracje.
REFLEKSOL 90 – PROWADNICE LISTWOWE G31 I GC30 DO MONTAŻU NA ZEWNĄTRZ LUB WEWNĄTRZ POMIESZCZEŃ
1a. Prowadnice listwowe. Montaż na uchwytach do ramy/ściany kaseta samonośna – Montaż na Zewnątrz i Wewnątrz
Montaż prowadnic G31 na regulowanych uchwytach do powierzchni czołowej np. ramy/okna/ściany. Kaseta jest samonośna tzn. zamocowana jest tylko na prowadnicach.
W tej opcji, prowadnice aluminiowe G31 montujemy do ramy okna/ściany (do powierzchni czołowej) na uchwytach mocujących.
* L= regulacja od 50-70mm (Standard), uchwyt „owalny”
* L= regulacja od 75-120mm (Opcja), uchwyt „owalny”
Ilość uchwytów dobierana jest automatycznie, proporcjonalnie do wysokości prowadnic.
1b. Prowadnice listwowe. Montaż na uchwytach do ramy/ściany kaseta samonośna – Montaż na Zewnątrz i Wewnątrz
Montaż prowadnic GC30F na regulowanych uchwytach do powierzchni czołowej np. ramy/okna/ściany. Kaseta jest samonośna tzn. zamocowana jest tylko na prowadnicach.
W tej opcji, prowadnice aluminiowe GC30F montujemy do ramy okna/ściany (do powierzchni czołowej) na uchwytach mocujących.
* L= regulacja od 50-70mm (Standard), uchwyt „owalny”
* L= regulacja od 75-120mm (Opcja), uchwyt „owalny”
Ilość uchwytów dobierana jest automatycznie, proporcjonalnie do wysokości prowadnic.
2. Prowadnice listwowe. Montaż bez uchwytów do ramy/ściany kaseta samonośna – Montaż na Zewnątrz i Wewnątrz
Montaż prowadnic G31 bezpośrednio do powierzchni czołowej np. ramy/okna/ściany (bez uchwytów prowadnic). Kaseta jest samonośna tzn. zamocowana jest tylko na prowadnicach lub możemy ją przykręcić do sufitu.
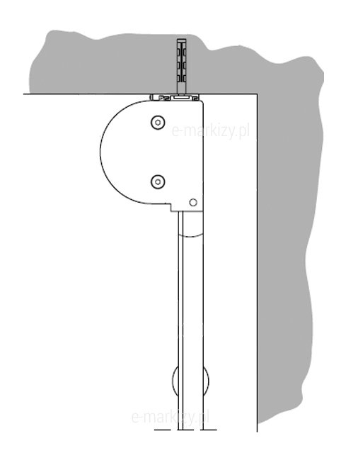
Prowadnice wąskie (G31) mocowane są bezpośrednio (bez uchwytów) do powierzchni czołowej np. ramy/okna/ściany/fasady. Aby zamocować prowadnice, należy użyć specjalnych nasadek (rys. A), na które „doczepia się” prowadnice. Przy tym sposobie montażu, kaseta jest „samonośna”, tzn. kaseta przymocowana jest stabilnie do prowadnic i nie ma potrzeby mocować jej dodatkowo do podłoża (opcjonalnie można ją przytwierdzić do sufitu za pomocą klipów sufitowych dołączonych do zestawu).
Prowadnice wąskie (G31) mocowane są bezpośrednio (bez uchwytów) do powierzchni bocznej wnęki okna. Aby zamocować prowadnice, należy przywiercić je w kilku miejscach i przytwierdzić do wnęki. Przy tym sposobie montażu, kaseta jest „samonośna”, tzn. kaseta przymocowana jest stabilnie do prowadnic i nie ma potrzeby mocować jej dodatkowo do podłoża.
Prowadnice GC30 mocowane są bezpośrednio (bez uchwytów) do powierzchni bocznej wnęki okna. Aby zamocować prowadnice, należy przewiercić je w kilku miejscach i przytwierdzić do wnęki. Przy tym sposobie montażu, kasetę należy przytwierdzić do sufitu za pomocą klipów sufitowych dołączonych do zestawu – Rys. B).
REFLEKSOL 90 – PROWADNICE LISTWOWE G80 DO MONTAŻU WEWNĄTRZ POMIESZCZEŃ
1. Prowadnice listwowe. Montaż bez uchwytów do ramy/ściany (prowadnica szeroka) – Montaż Wewnątrz Pomieszczeń
Montaż prowadnic szerokich (G80) bezpośrednio do bocznej powierzchni wnęki (bez uchwytów prowadnic). Kaseta jest samonośna tzn. zamocowana jest tylko na prowadnicach lub możemy ją przykręcić do sufitu.
Prowadnice (G80) mocowane są bezpośrednio (bez uchwytów) do bocznej powierzchni wnęki okna. Aby zamocować prowadnice, należy przewiercić je w kilku miejscach i przytwierdzić do wnęki. Przy tym sposobie montażu, kaseta jest “samonośna”, tzn. kaseta przymocowana jest stabilnie do prowadnic i nie ma potrzeby mocować jej dodatkowo do podłoża (opcjonalnie można ją przytwierdzić do sufitu za pomocą klipów sufitowych dołączonych do zestawu).
2. Prowadnice listwowe. Montaż bez uchwytów do wnęki (prowadnica szeroka) – Montaż Wewnątrz Pomieszczeń
Montaż prowadnic szerokich (G80) bezpośrednio do bocznej powierzchni wnęki (bez uchwytów prowadnic). Kaseta jest samonośna tzn. zamocowana jest tylko na prowadnicach lub możemy ją przykręcić do sufitu.
Prowadnice (G80) mocowane są bezpośrednio (bez uchwytów) do bocznej powierzchni wnęki okna. Aby zamocować prowadnice, należy przewiercić je w kilku miejscach i przytwierdzić do wnęki. Przy tym sposobie montażu, kaseta jest “samonośna”, tzn. kaseta przymocowana jest stabilnie do prowadnic i nie ma potrzeby mocować jej dodatkowo do podłoża (opcjonalnie można ją przytwierdzić do sufitu za pomocą klipów sufitowych dołączonych do zestawu – rys. A).
REFLEKSOL 90 – PROWADNICE LINKOWE DO MONTAŻU NA ZEWNĄTRZ LUB WEWNĄTRZ POMIESZCZEŃ
1. Prowadnice linkowe. Montaż do sufitu LUB 2. Do ramy/ściany
Przy wyborze prowadnic linkowych, kaseta refleksola mocowana jest najczęściej bezpośrednio do sufitu (za pomocą klipów) lub do ściany/ramy za pomocą kątownika kasety (rzadziej), możliwe także jest bezpośrednie przykręcenie kasety do powierzchni pionowej (nawierty w kasecie należy wykonać we własnym zakresie). Uchwyty linek mogą być montowane do powierzchni czołowej (np. fasady/ramy/okna) lub ewentualnie do podłoża. W nietypowych sytuacjach, kasetę możemy również przykręcić do powierzchni czołowej nie stosując żadnych uchwytów. W tym celu nawiercamy kasetę refleksola i mocujemy ją bezpośrednio do powierzchni.
Uchwyty linek mogą być montowane do powierzchni czołowej np. ramy/okna/fasady/ściany lub ewentualnie do podłoża-podłogi. Do uchwytu mocujemy specjalny napinacz linki, którego pozycję możemy regulować w pewnych zakresach. Napinacz pełni również funkcję naciągania linki (prowadnicy linkowej).
Uchwyty linki występują w różnych długościach i są regulowane w zakresach:
* L= regulacja od 15-36mm (Standardowa długość)
* L= regulacja od 29-50mm (Opcja-rzadziej stosowana długość)
* L= regulacja od 55-76mm (Opcja-rzadziej stosowana długość)
SPOSOBY MONTAŻU – RENDERY
![]() |
Refleksol 90 Selt| Kaseta samonośna |
![]() |
Refleksol 90 Selt| Kaseta samonośna |
![]() |
Refleksol 90 Selt| Kaseta samonośna |
![]() |
Refleksol 90 Selt| Kaseta samonośna |
![]() |
Refleksol 90 Selt| Kaseta samonośna |
![]() |
Refleksol 90 Selt| Kaseta samonośna |
![]() |
Refleksol 90 Selt| Kaseta samonośna |
![]() |
Refleksol 90 Selt| Kaseta przykręcana |
![]() |
Refleksol 90 Selt| Kaseta przykręcana |
Refleksol 90 – Sposoby montażu – Instrukcja producenta:
Refleksol 90 - Sposoby montażu - Refleksole zewnętrzne, refleksole montaż, rolety pionowe, refleksol 90, refleksol selt, refleksole cena, refleksole allegro, refleksole montaż, refleksole cena, refleksole producent, refleksole zalety, refleksole na okna, refleksole xl, refleksole na wymiar montaż, rolety pionowe refleksol, refleksole na okna, refleksole zaciemniające montaż, materiał na refleksole, refleksole na okna dachowe, roleta refleksol, rolety screen montaż, roleta screen na wymiar, rolety refleksol 103, refleksol 120, rolety refleksole montaż








