Masz pytania? Potrzebujesz pomocy? Zadzwoń +48 518 075 074

Menu

Refleksol Ziiip 95 – Pomiar – Jak mierzyć?

Wymiarowanie refleksola ziiip 95:

S=Szerokość refleksola do 270cm
H=Wysokość systemu do 300cm

Wymiary kasety: szer. 100mm, wys. 95mm


Pomiar refleksola ziiip 95 z prowadnicami listwowymi

Szerokość S – jest to szerokość całkowita łącznie z uchwytami – do 270cm
Wysokość H – jest to wysokość całkowita – do 300cm


Refleksol Ziiip 95 – Dane Techniczne

Zobacz sposoby montażu refleksola

Wyceń refleksol ziiip 95

Refleksol Ziiip 95 – Komponenty

– kaseta refleksola
– klipy montażowe
– prowadnica aluminiowa
– belka dolna

Wersje refleksola zależnie od sposobu montażu posiadają różne komponenty (więcej informacji w karcie katalogowej produktu). Konstrukcja systemu oraz kaseta wykonane są z ekstrudowanego aluminium. Konstrukcja wyrobu i napędu pozwala na bezpieczne zatrzymanie kurtyny na każdej wysokości w obszarze pracy góra-dół i pozostawanie tam w stanie zawieszenia. Napęd refleksola elektryczny lub ręczny-korbowy. Silniki posiadają stopień ochrony obudowy IP 44.


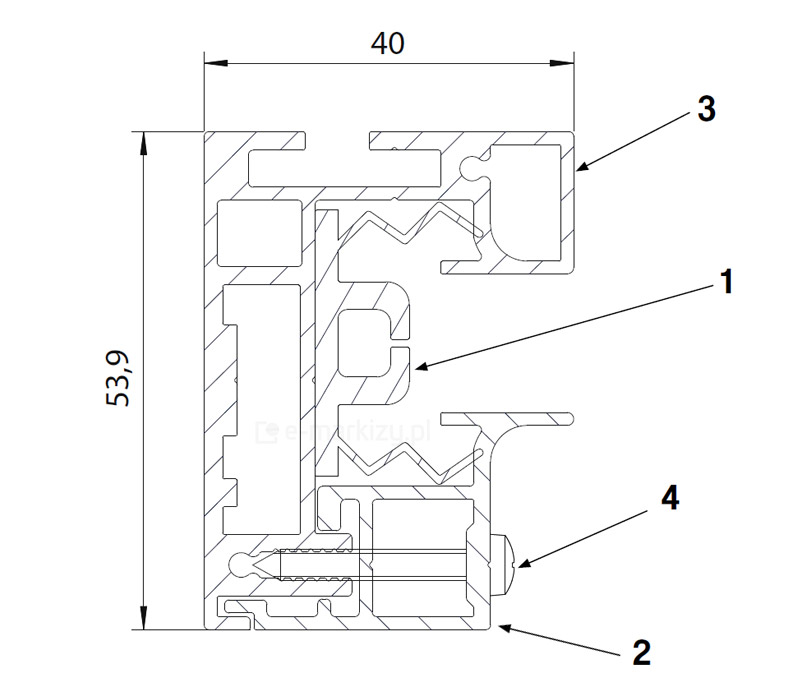
Profil prowadnicy Ziiip (standard)

1. Profil prowadzący (zygzak)
2. Prowadnica G40Z-Rewizja
3. Prowadnica G40Z-02 (część stała)
4. Wkręt mocujący

Belka dolna FG51 (standard)


Profil prowadnicy Ziiip – C2756

Montaż systemu ZIIIP 95 bez użycia uchwytów dystansujących – Stosowana do szerokości 1600mm, położenie prowadnicy od ściany wymaga zastosowania dodatkowych dystansów.

*W przypadku zamówienia równocześnie wąskich i szerokich refleksoli istnieje możliwość zastosowania nowych POSZERZONYCH belek dolnych także w refleksolach powyżej 1600mm szerokości (za dopłatą ~5%)

Belka dolna Ziiip – C2756

Stosowana do szerokości 1600mm, pozwala wykonać w pełni funkcjonalne wąskie i wysokie systemy ZiiiP.

W przypadku poszerzonej belki dolnej ZiiiP 95 zalecamy stosowanie uchwytów dystansujących.


Refleksol Ziip 95 – Przekrój kasety

Kaseta standardowo jest przystosowana do montażu pod uchwyty

Opcjonalnie, za dopłatą, istnieje możliwość wyboru kasety gładkiej, co ma zastosowanie głównie przy montażu rolet na pergoli.


Rodzaje belek dolnych do systemu ZIIIP 95

W zależności od wymiarów rolety, stosuje się różne belki dolne, które obciążają tkaninę. Stosujemy belkę „wąską” oraz „szeroką„. Jej rodzaj dobierany jest automatycznie na podstawie gabarytów rolety. Należy zwrócić uwagę, że zamawiając kilka rolet o różnych wymiarach, belki obciążeniowe mogą być różne. Ważne jest również miejsce montażu refleksola. Jeśli jego montaż będzie odbywał się do powierzchni płaskiej bez uchwytów (np. do ściany, ramy itp.), to belka szeroka będzie wychodziła poza obrys prowadnic, co uniemożliwi montaż. W tym przypadku konieczne jest zastosowanie belki wąskiej. Jeśli nie jesteś pewny, które belka zostanie zastosowana do twoich wymiarów rolety lub chcesz wykonać roletę z niestandardową belką, skontaktuj się z nami.

a) Belka dolna wąska standard – FG51-02
stosowana jest zawsze od szerokości 1600mm

b) Belka dolna Poszerzona FG51-03
stosowana jest tylko do szerokości rolety 1599mm

• (pola zielone) do szer. 1599mm zalecane użycie wersji z poszerzoną belką w cenie, natomiast możliwe jest użycie belki wąskiej standardowej na wyraźne życzenie klienta przy składaniu zamówienia

• (pola pomarańczowe) wersja tylko z poszerzoną belką


Refleksol Ziiip95 – Wersja przyścienna. Mocowanie doczołowe


Refleksol Ziiip95 – Wersja samonośna na uchwytach przegubowych


Uchwyty Samonośne Refleksola

A – Zakres regulacji 39-45mm
B – Zakres regulacji 46-52mm


Refleksol Ziiip 95 – Mocowanie uchwytu do prowadnicy


Sterowanie roletami screen

Refleksol ziiip 95 może być sterowany silnikiem elektrycznym. Przewód wyprowadzony jest na długość ok. 2mb z otworu umieszczonego z boku lub od tyłu kasety refleksola.

Zobacz informacje o sterowaniu elektrycznym


Refleksol Ziiip 95 Selt

Zastosowanie:
Ochrona przeciwsłoneczna i zacienianie pionowych otworów okiennych , przeszkleń, wydzielenia przestrzeni.
Charakterystyka wyrobu:
– Konstrukcja systemu wykonana jest z ekstrudowanego aluminium, co zapewnia trwałość i wytrzymałość refleksola.
– Ograniczają dostęp światła słonecznego do pomieszczenia
– Zwiększają udział światła rozproszonego w pomieszczeniu
– Aluminiowe prowadnice ekstrudowane z rewizją
– Możliwość montażu modułowego prowadnic na wspólnych uchwytach samonośnych
– Tkanina posiada boczne zamki co zapewnia wysoką odporność wiatrową
– Chronią pomieszczenie przed nagrzewaniem przez co przyczyniają się do poprawy komfortu termicznego w pomieszczeniach
– Pozwalają na ograniczenie kosztów związanych z klimatyzacją pomieszczeń
– Ograniczają przenikanie hałasu do wnętrza budynku
– Nie wydzielają toksycznych substancji w trakcie eksploatacji
– Emisja hałasu zasłon zewnętrznych z napędem nie jest uważana za istotne zagrożenie dla zdrowia i bezpieczeństwa.
– Silniki posiadają stopień ochrony obudowy IP 44
– Konstrukcja wyrobu i napędu pozwala na bezpieczne zatrzymanie kurtyny na każdej wysokości w obszarze pracy góra-dół i pozostawanie tam w stanie zawieszenia
– Ruch w górę i dół odbywa się z użyciem mechanizmu sterującego, elektrycznego z układem napędowym połączonym z systemem sterującym
– Struktura stosowanych tkanin HIGH-T-TEX skutecznie ogranicza powstawanie kontrastów tworzących się podczas wpadania promieni słonecznych do pomieszczenia
– Ogranicza przenikanie hałasu do wnętrza budynku
– Konstrukcja lakierowana proszkowo
– Napęd elektryczny
– kolorystyka: RAL, FSM

PARAMETRY TECHNICZNE REFLEKSOL R95 Ziiip
Szerokość maksymalna: 2,7 m (linkowa)
Wysokość maksymalna: 3 m
Maksymalne pole powierzchni tkaniny: 8,1 m2
Średnica rury nawojowej: 51mm
Prowadnice: Na uchwytach samonośnych: typ A (refleksolowe) o wysięgu 39-45 mm
lub typ B (żaluzjowe) o wysięgu 52-58 mm
Belka dolna: FG51-02 (opcjonalnie FG51)
Napęd elektryczny, silnik o parametrach:
– napięcie zasilania
230 V ~ 50 Hz – moc
od 100 W do 130 W ( w zależności od typu silnika )
– pobór prądu od 0,52 A do 1,05 A ( w zależności od typu silnika )
– stopień ochrony IP 44
– czas pracy ciągłej 4 min
– moment obrotowy 5-9 Nm
– prędkość obrotowa od 16 obr / min do 28 obr / min ( w zależności od typu silnika )
– temperatura pracy Od -10°C do + 40°C
Kolor konstrukcji RAL, FSM
Model tkaniny Wg aktualnego cennika
Zastosowanie Zewnętrzne
DEKLAROWANE WŁAŚCIWOŚCI UŻYTKOWE (ZEWNĘTRZNE) – Prowadnice listwowe
Deklaracja Właściwości Użytkowych 51A / RZ / 2018
Odporność na obciążenie wiatrem: Klasa 6 (480 Pa)
Całkowity współczynnik przenikania energii słonecznej gtot 0,01 – 0,90*


Refleksol Ziiip 95 - Dane Techniczne - Refleksol Ziip 95, Komponenty refleksola selt, kaseta, klip montażowy, prowadnice, belka dolna, Refleksol Ziip-95 szczegóły pomiaru, maksymalne wymiary refleksola, Refleksol Ziip 95 przekrój kasety, wymiary kasety refleksola selt, Refleksol Zip 95 profil prowadnicy zip, belka dolna FG51, profil zygzak, Refleksol 95 zip przyścienny, przekrój pionowy refleksola selt, Refleksol 95 zip przyścienny, przekrój poziomy belki dolnej, Refleksol 95 zip przyścienny, przekrój poziomy kasety, Refleksol 95 zip samonośny, przekrój pionowy refleksola, Refleksol 95 zip samonośny, przekrój poziomy belki dolnej, Refleksol 95 zip samonośny, przekrój poziomy kasety, Refleksol ziip 95 selt, mocowanie uchwytu prowadnicy refleksola, Refleksol zip 95 selt, mocowanie uchwytu prowadnicy refleksola