Masz pytania? Potrzebujesz pomocy? Zadzwoń +48 518 075 074

Menu

Slim – moskitiera drzwiowa-przesuwna – Montaż i Dane Techniczne



Dane techniczne moskitiery Slim


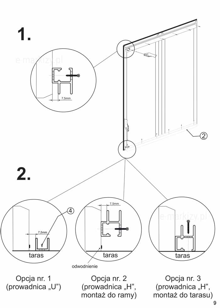
Prowadnica górna S


Prowadnica górna U


Prowadnica dolna S


Prowadnica dolna U


Szerokość systemu tylko 13mm – zmieści się między pancerzem rolety zewnętrznej

Profil z uszczelką ma szerokość zaledwie 13mm, dlatego można go zamontować pomiędzy ramą okna a pancerzem rolety zewnętrznej. W tym celu należy użyć górnej prowadnicy typu S.


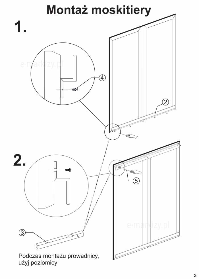
– 4 otwory wiercić wiertłem 3,5mm w miejscach wskazanych na rysunku
– uszczelkę szczotkową wsunąć w profil na całym obwodzie panelu
– przed skręceniem moskitiery, upewnij się, że uszczelka szczotkowa oraz suwaki znajdują się w odpowiednich miejscach


Przykładowy montaż moskitiery pojedynczej (Prowadnica typ S)

Komponenty moskitiery:

1 – moskitiera przesuwna slim
2 – prowadnica typ S
3 – poziomica
4 – wkręty
5 – wkrętak krzyżakowy
6 – klucz imbusowy sześciokątny

Uwaga! Moskitiera nie zawiera akcesoriów do montażu (wkrętów). Należy dobrać je samodzielnie w zależności od rodzaju powierzchni montażu (np. beton, drewno, tworzywo sztuczne).


Przykładowy montaż moskitiery podwójnej (Prowadnice typ U i H)


Slim – moskitiera drzwiowa-przesuwna - Montaż i Dane Techniczne - Moskitiera slim pomiar rzut z góry, Moskitiera slim montaż, komponenty moskitiery, Moskitiera slim, konserwacja moskitiery, smarowanie silikonem, Moskitiera slim, montaż moskitiery podwójnej na profilu h i U, Moskitiera slim, montaż moskitiery na profilu s, Moskitiera slim proifl wymiary, Moskitiera slim komponenty, Moskitiera na wymiar‎, Moskitiery Zielona Góra, Moskitiera slim typy prowadnic, Moskitiera slim prowadnica typ s, wymiary prowadnic moskitiery, Moskitiera slim narożnik wewnętrzny, Moskitiera na drzwi tarasowe, slim mol, moskitiery wycena