Masz pytania? Potrzebujesz pomocy? Zadzwoń +48 518 075 074

Menu

Solid – moskitiera drzwiowa-przesuwna – Montaż i Dane techniczne



Prowadnica S:


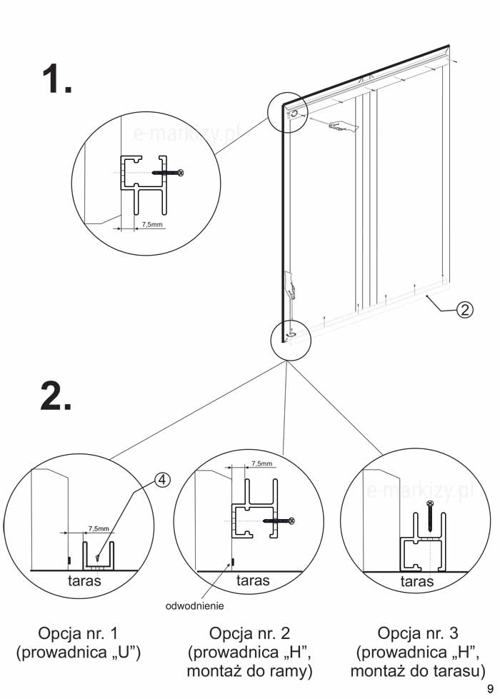
Prowadnica H:


Prowadnica U:



Dane techniczne moskitiery Solid



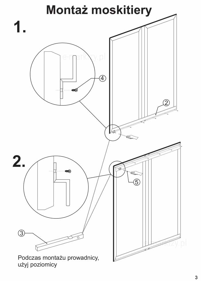
Przykładowy montaż moskitiery pojedynczej (Prowadnica typ S)

Komponenty moskitiery:

1 – moskitiera przesuwna solid
2 – prowadnica typ S
3 – poziomica
4 – wkręty
5 – wkrętak krzyżakowy
6 – klucz imbusowy

Uwaga! Moskitiera nie zawiera akcesoriów do montażu (wkrętów). Należy dobrać je samodzielnie w zależności od rodzaju powierzchni montażu (np. beton, drewno, tworzywo sztuczne).


Montaż moskitiery podwójnej (Prowadnice typ U i H)


Solid - moskitiera drzwiowa-przesuwna - montaż i dane techniczne, komponenty moskitiery, Moskitiera solid, konserwacja moskitiery, smarowanie silikonem, Moskitiera solid, montaż moskitiery podwójnej na profilu h i U, Moskitiera solid, montaż moskitiery na profilu s, Moskitiera Solid proifl wymiary, Moskitiera Solid komponenty, Moskitiera na wymiar‎, Moskitiery Zielona Góra, Moskitiera Solid typy prowadnic, Moskitiera Solid prowadnica typ s, wymiary prowadnic moskitiery, Moskitiera Solid narożnik wewnętrzny, Moskitiera na drzwi tarasowe, solid mol, moskitiery wycena