Żaluzja Drewniana 50 mm Dane Techniczne
Żaluzja drewniana 50 mm dane techniczne prezentuje elementy składowe żaluzji oraz wszystkie niezbędne informacje związane z eksploatacją produktu.
Rynna górna, umieszczenie mechanizmu w rynnie
Żaluzja drewniana 50 mm wyposażona jest w rynnę górną stalową o wymiarach 50mm x 50mm. W rynnie tej umieszczone są wszystkie mechanizmy niezbędne do sterowania żaluzją. Rynna górna wykonana jest w wymiarze 0,5cm krótszym od wymiaru szerokości żaluzji ze względu na zakończenie tworzywowe rynny, czyli tzw. ZRG (Zakończenie Rynny Górnej).
Mechanizmy do sterowania żaluzją drewnianą mogą być rozmieszczone na dwa sposoby:
1. Hamulec po jednej stronie, pokrętło po drugiej stronie rynny (minimalna szerokość żaluzji 30cm).
2. Hamulec i pokrętło po jednej stronie (funkcję pokrętła w żaluzjach drewnianych 50mm pełnią sznurki) (minimalna szerokość żaluzji 45cm).
Możliwe jest wykonanie żaluzji drewnianych 50mm w wersji z pokrętłem do obrotu lamel, na wyraźnie życzenie klienta. Powyżej szerokości 150cm zalecamy zastosowanie sterowania sznurkowego do obrotu lamel.


Maskownica drewniana rynny głównej
Maskownica drewniana rynny górnej może być wykonana w jednej z dwóch wersji:
Maskownica prosta (bez boczków) – stosowana przy montażu żaluzji we wnękach, zasłaniająca wierzchnią część rynny górnej.
Maskownica z boczkami – stosowana przy montażu żaluzji na powierzchniach niewnękowych, zasłaniająca również boczne części rynny górnej.
Kolorystyka maskownicy dopasowywana jest do koloru lamel żaluzji. Na życzenie klienta możliwe jest wykonanie maskownicy w innym kolorze niż lamele.
Szerokość maskownicy z boczkami jest większa od szerokości rynny górnej o około 3 cm.
Mocowanie maskownicy drewnianej
Maskownicę montuje się do rynny górnej za pomocą magnesów.
Rozmieszczenie magnesów:
2 magnesy (10cm od krawędzi) – do 50cm szerokości żaluzji
2 magnesy (12cm od krawędzi) – do 110cm szerokości żaluzji
3 magnesy (12cm od krawędzi + środek pomiędzy zewnętrznymi magnesami) – od 110cm do 180cm szerokości żaluzji
4 magnesy (15cm od krawędzi + 2 magnesy w równej odległości od zewnętrznych) – od 180cm szerokości żaluzji
Prowadzenie boczne FIX
Prowadzenie boczne (tzw. Fix) stosuje się głównie przy żaluzjach montowanych na uchylnych skrzydłach okiennych, umożliwiając tym samym stałe przyleganie żaluzji do skrzydła. W żaluzjach drewnianych stosuje się do tego celu linkę stalową oraz mocowania linki dolne płaskie lub kątowe.
Mocowania płaskie linki stalowej stosuje się w przypadku, gdy żaluzja jest zawieszona na listwie przyszybowej blisko szyby. Mocowania kątowe stosuje się, gdy żaluzja jest zawieszona na ramie okiennej w pewnej odległości od szyby.
Do zamocowania linki stalowej w rynnie górnej stosuje się tzw. kontrę w kształcie tulejki z wkrętem zaciskającym o wymiarze 6mm, natomiast do dolnego mocowania linki dodatkowo stosuje się podobną kontrę, ale o wymiarze 4mm.
1. Mocowanie dolne FIX kątowe z kontrą.
2. Mocowanie dolne FIX płaskie z kontrą
Mocowanie Żaluzji Drewnianej
Do zamocowania żaluzji drewnianych stosuje się metalowy uchwyt mocujący „TWIST”, który umożliwia zamocowanie żaluzji do ramy okiennej, ale również do sufitu lub ściany. Nie ma możliwości zamocowania żaluzji do listwy przyszybowej oraz bezinwazyjnego zamocowania (zawieszenia żaluzji na skrzydle okna). Ilość uchwytów mocujących jest uzależniona od szerokości żaluzji. Zwykle stosuje się tyle uchwytów, ile jest drabinek w żaluzji.


Wykończenie żaluzji 50mm
Drewniana belka dolna wykonywana jest w wysokości 1,5cm, za wyjątkiem kolekcji Tropical – wysokość belki dolnej w żaluzjach bambusowych wynosi 1,3 cm. Ostatnia dolna lamela położona jest na belce dolnej. Drabinka taśmowa przypinana jest do spodu belki dolnej za pomocą pinezek, natomiast drabinka sznurkowa podobnie jak w żaluzjach 25mm za pomocą korka belki dolnej.
Belki dolne wykonuje się zawsze krótsze od całkowitej szerokości żaluzji.
Wymiary belki dolnej w zależności od wykonania:
Standard (bez Fix i ZRD z bolcem) – 0,5cm
Fix – 4,5cm
ZRD z bolcem – 2,3cm
Dzwonki do sznurków
Sznurki do podciągania lamel zakończone są na dole tzw. dzwonkami. Są to elementy drewniane, stosowane w kolorach jak najbardziej zbliżonych do koloru lamel.
Bejcowanie boków lamel
Boki lamel bejcowane są kolorem najbardziej zbliżonym do koloru lamel.
Mechanizm łańcuszkowy Monocomando
W przypadku systemu Monocomando, szerokość całkowita żaluzji zwiększy się o 1cm po dodaniu mechanizmu, tak więc będzie większa od szerokości lamel, co może mieć duże znaczenie w przypadku wnęk.
Lamele drewniane wykonane są z azjatyckiego drewna basswood o szerokości 50mm.
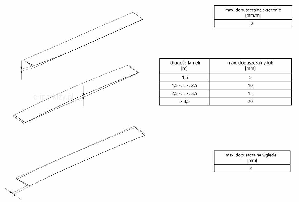
Dopuszczalne są niewielkie wygięcia oraz skręt lamel
Maksymalne dopuszczalne skręcenie: 2mm/m
Maksymalne dopuszczalne wgięcie: 2mm
Uwaga! Przy wysokości żaluzji przekraczającej 150cm istnieje możliwość występowania zjawiska „niedomykania się” lamel w dolnych partiach przesłony. Wynika to z cechy konstrukcyjnej całego systemu odpowiedzialnego za obrót lamel. Nawet przy pełnym obrocie i wyraźnie wyczuwalnym oporze, przednia i tylna część drabinki nie będzie miała możliwości „zejścia się” w jedną płaszczyznę, co powoduje widoczne prześwity między lamelami.
Więcej na temat właściwości technicznych i jakościowych znajdziesz w pliku.
Żaluzje drewniane 50 mm wykonywane są z naturalnego drewna oraz bambusa. Drewno Baswood znane jest z odporności na blaknięcie oraz różnorodności odcieni. Naturalne właściwości drewna, takie jak usłojenie czy sęki, są akceptowalne i podkreślają autentyczność materiału. Zmiany w percepcji koloru drewna mogą wystąpić w zależności od kąta padania światła, co jest naturalną cechą drewna. Na brzegach lamel mogą występować niewielkie uszczerbienia. Belka dolna i maskownica mogą być wykonane z drewna o nieco odmiennych odcieniach, co może być delikatnie widoczne spod bejcy. Cechy uznawane przez niektórych za wady świadczą o naturalnym pochodzeniu produktu oraz są jego niezaprzeczalnym atutem.
Odporność koloru na blaknięcie wynosi 4 lub więcej, zgodnie z normą ISO105-B02, w skali 1 (niska odporność) do 8 (wysoka odporność). Standardem kolorystycznym dla listków, osłon, rynien są aktualne próbniki kolorystyczne. Dopuszczalne są nieznaczne różnice odcieni i połysku listków, osłon, rynien względem posiadanych próbników.
Właściwości naturalne to wyszczerbienia przy otworach na sznurek, delikatne zadrapania powierzchni, chropowate krawędzie listków, barwione końcówki listków.
Mocowanie górne twist żaluzja drewniana 50mm, Żaluzja drewniana 50mm wysokość pakietu żaluzji, Żauzja drewniana 50mm rozmieszczenie mechanizmu, Żaluzja drewniana 50mm drabinka taśmowa, Żaluzja drewniana 50mm drabinka sznurkowa, Żaluzja drewniana 50mm, maskownica zwykła, Żaluzja drewniana 50mm, maskownica z bokiem, Żaluzja drewniana 5cm, mocowanie taśmy do belki dolnej, Żaluzja drewniana 50mm, mocowanie sznurka do belki dolnej, Żaluzja drewniana lamele 50mm, Żaluzja pozioma drewno 5cm,