Żaluzja pozioma aluminiowa 50mm –
sposób montażu żaluzji aluminiowej w zależności od miejsca mocowania
Zapraszamy do zapoznania się ze szczegółowymi instrukcjami montażu dla produktu żaluzja pozioma aluminiowa 50mm – sposoby montażu: inwazyjne lub bezinwazyjne oraz w zależności od miejsca ich montowania.
Żaluzja pozioma aluminiowa 50mm nie może być zamocowana w świetle szyby. Jeśli potrzebujesz żaluzji o takim sposobie zamontowania rozważ zakup osłony z lamelami węższymi – żaluzja aluminiowa 16mm lub żaluzja aluminiowa 25mm.
Żaluzja pozioma aluminiowa 50mm może być zamocowana do skrzydła okna, do ściany, do sufitu lub do wnęki. Do wyboru masz mocowanie inwazyjne lub bezinwazyjne. Wszystkie szczegóły montażu znajdziesz w poniższych instrukcjach.
Spis treści
Żaluzja pozioma aluminiowa 50mm – Sposoby montażu
A. Sposób montażu żaluzji aluminiowej 50mm do skrzydła okna
Montaż żaluzji aluminiowych 50mm do skrzydła okna można wykonać na dwa podstawowe sposoby: inwazyjnie lub bezinwazyjnie. Montaż na skrzydle okiennym wybierany jest zwykle dla mniejszych osłon. Ze względu na wagę żaluzji aluminiowych z lamelami 5 cm w przypadku większych okien, np. tarasowych warto rozważyć inny sposób mocowania lub podzielić osłonę na kilka części.
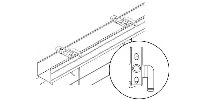
1. Górne mocowanie żaluzji do skrzydła okna – inwazyjne
Mocowanie inwazyjne wymaga wiercenia otworów pod uchwyty. W przypadku montażu na skrzydle okna konieczne jest wykonanie tych otworów w ramie skrzydła okna. Warto to wziąć pod uwagę podczas wyboru sposobu mocowania żaluzji.

W przypadku montażu żaluzji do ramy okna uchwyt typu Twist należy zamocować wkrętami (nie dołączone do zestawu) jak na rysunku. Czynność należy powtórzyć dla wszystkich uchwytów.

Mocowanie żaluzji należy wykonać na zamocowanych do podłoża uchwytach. UWAGA – uchwyty powinny znajdować się w pozycji otwartej, jak na rysunku.

Na zakończenie należy zablokować uchwyty przekręcając metalowe elementy zgodnie z rysunkiem.

Szczegół prawidłowego zamocowania rynny górnej w uchwytach twist pokazuje rysunek.
Górne mocowanie inwazyjne żaluzji aluminiowej zostało zakończone. Przejdź do kroków związanych z prowadzeniem bocznym. W przypadku jego braku – żaluzja wolnowisząca, przejdź do kroku z zakończeniem montażu żaluzji.
2. Górne mocowanie żaluzji do skrzydła okna – bezinwazyjne
Bezinwazyjny sposób montażu żaluzji aluminiowej 50 mm pozwala na zawieszenie osłony bezpośrednio na skrzydle okna bez konieczności wiercenia. Rozwiązanie to polecane jest do mniejszych osłon okiennych. W przypadku dużych okien warto rozważyć inny sposób mocowania żaluzji.

Górne mocowanie bezinwazyjne składa się z dwóch elementów: uchwytu metalowego typu Twist oraz wieszaka bezinwazyjnego. Aby zamocować żaluzję należy połączyć element wieszaka bezinwazyjnego oraz uchwyt twist za pomocą śrubki, jak na rysunku.

Górny uchwyt bezinwazyjny jest gotowy do zawieszenia żaluzji na oknie. Należy nałożyć go na górną część ramy skrzydła okna, jak na rysunku.

W celu ustabilizowania uchwytów na ramie należy dokręcić kluczem imbusowym uchwyty w celu stabilizacji, jak pokazano na rysunku.

Aby zawiesić żaluzję należy zablokować uchwyty przekręcając metalowe elementy, jak pokazuje rysunek.
Bezinwazyjne mocowanie górne żaluzji aluminiowej 50mm zostało zakończone. Przejdź do kroków związanych z prowadzeniem bocznym. W przypadku jego braku – żaluzja wolnowisząca, przejdź do kroku z zakończeniem montażu żaluzji.
3. Mocowanie prowadzenia bocznego – mocowanie dolne inwazyjne
Mocowanie żaluzji do skrzydła okna może obejmować prowadzenie boczne, bądź żaluzja może być w wersji wolnowiszącej. Najczęściej w tym przypadku wybierane jest jednak prowadzenie boczne, które pozwala na przytrzymanie dolnej części wiszącej żaluzji blisko okna. Jest to szczególnie przydatne w przypadku okien uchylnych.

W pierwszej kolejności przeciągnąć linkę przez sprężynę oraz kontrę, następnie zawinąć linkę i jej końcówkę włożyć z powrotem w kontrę Całość dokręcić małym płaskim śrubokrętem.

Następnie linkę stalową należy przeciągnąć przez otwór w rynnie oraz wszystkie otwory w krawędziach lamel aluminiowych.

Inwazyjne mocowanie żaluzji do skrzydła okna w przypadku prowadzenia bocznego wykonywane jest za pomocą uchwytu metalowego kątowego przykręcanego do ramy okna.
Mocowanie uchwytu kątowego w przypadku montażu żaluzji na skrzydle okna pokazuje rysunek.

Na rysunku pokazano, w których miejscach uchwyt kątowy powinien zostać przymocowany do podłoża, a gdzie wsunięta powinna być linka od prowadzenia bocznego.

Za pomocą śruby w kontrze oraz śrubokręta płaskiego należy naprężyć linkę w uchwycie, jak pokazano na rysunku. Nadmiar linki należy odciąć.
Mocowanie żaluzji zostało niemal zakończone. W dalszej kolejności należy wykonać kroki opisane w dziale „Zakończenie montażu żaluzji”.
4. Mocowanie prowadzenia bocznego – mocowanie dolne bezinwazyjne
Wybierając mocowanie żaluzji do skrzydła okna warto rozważyć zastosowanie prowadzenia bocznego, które pozwala na przytrzymanie dolnej części wiszącej żaluzji blisko okna. Jest to szczególnie przydatne w przypadku okien uchylnych. Jedną z opcji mocowania takiego prowadzenia jest jego bezinwazyjne zaczepienie o ramę skrzydła okna.

W pierwszej kolejności przeciągnąć linkę przez sprężynę oraz kontrę, następnie zawinąć linkę i jej końcówkę włożyć z powrotem w kontrę Całość dokręcić małym płaskim śrubokrętem.

Następnie linkę stalową należy przeciągnąć przez otwór w rynnie oraz wszystkie otwory w krawędziach lamel aluminiowych.

Dolne mocowanie żaluzji zawieszanych bezinwazyjnie z prowadzeniem bocznym rozpocząć należy od zamocowania uchwytów bezinwazyjnych linki na dole skrzydła okna, w miejscu pokazanym orientacyjnie na rysunku.

Następnie należy przykręcić uchwyt za pomocą klucza imbusowego. Dzięki temu uchwyt zostanie ustabilizowany, jak na rysunku

Linkę prowadzenia bocznego należy wprowadzić w kontrę, jak pokazano na rysunku.

Następnie dokręcić śrubkę w kontrze kluczem imbusowym (b), jak pokazano na rysunku.

Wprowadzić linkę z kontrą w odpowiednim miejscu uchwytu bezinwazyjnego jak pokazano na rysunku.

Sprawdzić umiejscowienie uchwytu bezinwazyjnego względem linki prowadzenia bocznego, nie może ona pracować pod kątem.
Oczko zamocowane w dolnej belce żaluzji powinno znaleźć się w linii prostej z kontrą zamocowaną w uchwycie beziwazyjnym. Szczegół ten pokazuje rysunek.

Po prawidłowym ustawieniu uchwytu bezinwazyjnego oraz wyregulowaniu położenia linki odciąć jej nadmiar pod uchwytem, jak pokazano na rysunku
Mocowanie żaluzji zostało niemal zakończone. W dalszej kolejności należy wykonać kroki opisane w dziale „Zakończenie montażu żaluzji”.
5. Mocowanie żaluzji wolnowiszących bez prowadzenia bocznego, zaczepiane
Brak prowadzenia bocznego nie oznacza, że wolnowisząca żaluzja przy otwartym oknie będzie zwisała w dół. Aby przytrzymać ją przy szybie stosuje się tak zwane zakończenie rynny dolnej (ZRD). Stosuje się je dla żaluzji mocowanych w świetle szyby oraz mocowanych do ściany lub sufitu.

W belce dolnej żaluzji zamocowany jest trzpień, który wczepia się w uchwyt ZRD. Uchwyt ten, widoczny na rysunku, przymocowuje się w odpowiednim miejscu ramy okna lub ściany. Wybór tego miejsca jest uwarunkowany położeniem belki dolnej po całkowitym rozwinięciu żaluzji.
Mocowanie żaluzji zostało niemal zakończone. W dalszej kolejności należy wykonać kroki opisane w dziale „Zakończenie montażu żaluzji”.
6. Zakończenie montażu żaluzji
Po zawieszeniu żaluzji na uchwytach górnych oraz zainstalowaniu prowadzenia bocznego do wykonania zostaje tylko zawieszenie dzwonków na sznurkach.

W pierwszej kolejności należy opuścić żaluzję. Na zwisające sznurki zakładamy dzwonek (2 sznurki do 1 dzwonka).

Zawiązujemy pod nim supeł na pożądanej wysokości. Odcinamy nadmiar sznurka, jak na rysunku.

Odcinamy nadmiar sznurka, jak na rysunku.
Gratulacje! Twoja żaluzja jest już zamontowana!
Żaluzja pozioma aluminiowa 50mm – Sposoby montażu
B. Sposób montażu żaluzji aluminiowej 50mm do wnęki okiennej
Montaż żaluzji aluminiowych bardzo często wykonywany jest we wnęce okiennej. Pozwala na całościowe zasłonięcie przestrzeni okna bez konieczności mocowania żaluzji na skrzydle lub ramie okiennej. Jest to mocowanie inwazyjne, czyli wymagające wywiercenia otworów pod uchwyty.
1. Górne mocowanie żaluzji do wnęki okiennej
Górne mocowanie żaluzji do wnęki okiennej wykonywane jest za pomocą uchwytów typu Twist. Pozwalają one na stabilne i solidne utrzymanie rynny górnej żaluzji.

W przypadku montażu żaluzji do wnęki okiennej uchwyt typu Twist należy zamocować wkrętami (nie dołączone do zestawu) jak na rysunku. Czynność należy powtórzyć dla wszystkich uchwytów.

Mocowanie żaluzji należy wykonać na zamocowanych do podłoża uchwytach. UWAGA – uchwyty powinny znajdować się w pozycji otwartej, jak na rysunku.

Na zakończenie należy zablokować uchwyty przekręcając metalowe elementy zgodnie z rysunkiem.

Szczegół prawidłowego zamocowania rynny górnej w uchwytach twist pokazuje rysunek.
Górne mocowanie inwazyjne żaluzji aluminiowej 50mm do wnęki zostało zakończone. Przejdź do kroków związanych z prowadzeniem bocznym. W przypadku jego braku – żaluzja wolnowisząca, przejdź do kroku z zakończeniem montażu żaluzji.
2. Mocowanie prowadzenia bocznego – przykręcane do parapetu lub podłogi
Żaluzja pozioma aluminiowa 50mm może być wyposażona w prowadzenie boczne. W przypadku mocowania żaluzji do wnęki okiennej prowadzenie to może być przymocowane do powierzchni podłogi lub parapetu.

W pierwszej kolejności przeciągnąć linkę przez sprężynę oraz kontrę, następnie zawinąć linkę i jej końcówkę włożyć z powrotem w kontrę Całość dokręcić małym płaskim śrubokrętem.

Następnie linkę stalową należy przeciągnąć przez otwór w rynnie oraz wszystkie otwory w krawędziach lamel aluminiowych.

Prowadzenie boczne przykręcane do podłogi lub parapetu w przypadku montażu do wnęki instalowane jest za pomocą uchwytu płaskiego metalowego.
W przypadku montażu na wnęce położenie mocowania prowadzenia bocznego należy wyznaczyć, obserwując położenie linki od prowadzenia bocznego przy całkowicie rozwiniętych żaluzjach.

Na rysunku pokazano, w których miejscach uchwyt płaski powinien zostać przymocowany do podłoża, a gdzie wsunięta powinna być linka od prowadzenia bocznego.
Za pomocą śruby w kontrze oraz śrubokręta płaskiego należy naprężyć linkę w uchwycie, jak pokazano na rysunku.
Mocowanie żaluzji zostało niemal zakończone. W dalszej kolejności należy wykonać kroki opisane w dziale „Zakończenie montażu żaluzji”.
3. Zakończenie montażu żaluzji
Po zawieszeniu żaluzji na uchwytach górnych oraz zainstalowaniu prowadzenia bocznego do wykonania zostaje tylko zamocowanie dzwonków na sznurkach.

W pierwszej kolejności należy opuścić żaluzję. Na zwisające sznurki zakładamy dzwonek (2 sznurki do 1 dzwonka).

Zawiązujemy pod nim supeł na pożądanej wysokości. Odcinamy nadmiar sznurka, jak na rysunku.

Odcinamy nadmiar sznurka, jak na rysunku.
Gratulacje! Twoja żaluzja jest już zamontowana!
Żaluzja pozioma aluminiowa 50mm – Sposoby montażu
C. Sposób montażu żaluzji aluminiowej 50 mm do ściany
Montaż żaluzji do ściany wybierany jest wtedy, gdy żaluzja ma osłaniać przestrzeń poza wnęką okienną.
1. Górne mocowanie żaluzji do ściany
Górne mocowanie żaluzji do ściany wykonywane jest za pomocą uchwytów typu Twist. Pozwalają one na stabilne i solidne utrzymanie rynny górnej żaluzji.

W przypadku montażu żaluzji ściany uchwyt typu Twist należy zamocować wkrętami (nie dołączone do zestawu) jak na rysunku. Czynność należy powtórzyć dla wszystkich uchwytów.

Mocowanie żaluzji należy wykonać na zamocowanych do podłoża uchwytach. UWAGA – uchwyty powinny znajdować się w pozycji otwartej, jak na rysunku.

Na zakończenie należy zablokować uchwyty przekręcając metalowe elementy zgodnie z rysunkiem.

Szczegół prawidłowego zamocowania rynny górnej w uchwytach twist pokazuje rysunek.
Górne mocowanie inwazyjne żaluzji aluminiowej 50mm do ściany zostało zakończone. Przejdź do kroków związanych z prowadzeniem bocznym. W przypadku jego braku – żaluzja wolnowisząca, przejdź do kroku z zakończeniem montażu żaluzji.
2. Mocowanie prowadzenia bocznego – przykręcane do ściany
Żaluzja aluminiowa 50mm może być wyposażona w prowadzenie boczne, które pozwala na przytrzymanie w stabilnej pozycji także dolnej części żaluzji. W przypadku mocowania żaluzji do ściany istnieją dwa alternatywne sposoby mocowania żaluzji z prowadzeniem bocznym. Jednym z nich jest prowadzenie boczne przykręcane do ściany.

W pierwszej kolejności przeciągnąć linkę przez sprężynę oraz kontrę, następnie zawinąć linkę i jej końcówkę włożyć z powrotem w kontrę Całość dokręcić małym płaskim śrubokrętem.

Następnie linkę stalową należy przeciągnąć przez otwór w rynnie oraz wszystkie otwory w krawędziach lamel aluminiowych.

Prowadzenie boczne przykręcane w przypadku montażu do ściany instalowane jest za pomocą uchwytu metalowego kątowego.
W przypadku montażu na ścianie lub suficie położenie mocowania prowadzenia bocznego należy wyznaczyć, obserwując położenie linki od prowadzenia bocznego przy całkowicie rozwiniętych żaluzjach.

Na rysunku pokazano, w których miejscach uchwyt kątowy powinien zostać przymocowany do podłoża, a gdzie wsunięta powinna być linka od prowadzenia bocznego.

Za pomocą śruby w kontrze oraz śrubokręta płaskiego należy naprężyć linkę w uchwycie, jak pokazano na rysunku. Nadmiar linki należy odciąć.
Mocowanie żaluzji zostało niemal zakończone. W dalszej kolejności należy wykonać kroki opisane w dziale „Zakończenie montażu żaluzji”.
3. Mocowanie prowadzenia bocznego – przykręcane do podłogi
Żaluzja pozioma aluminiowa 50mm może być wyposażona w prowadzenie boczne, które pozwala na przytrzymanie w stabilnej pozycji także dolnej części żaluzji. W przypadku mocowania żaluzji do ściany istnieją dwa alternatywne sposoby mocowania żaluzji z prowadzeniem bocznym. Jednym z nich jest prowadzenie boczne przykręcane do podłogi.

W pierwszej kolejności przeciągnąć linkę przez sprężynę oraz kontrę, następnie zawinąć linkę i jej końcówkę włożyć z powrotem w kontrę Całość dokręcić małym płaskim śrubokrętem.

Następnie linkę stalową należy przeciągnąć przez otwór w rynnie oraz wszystkie otwory w krawędziach lamel aluminiowych.

Prowadzenie boczne przykręcane do podłogi w przypadku montażu do ściany instalowane jest za pomocą uchwytu płaskiego metalowego.
W przypadku montażu na ścianie lub suficie położenie mocowania prowadzenia bocznego należy wyznaczyć, obserwując położenie linki od prowadzenia bocznego przy całkowicie rozwiniętych żaluzjach.

Na rysunku pokazano, w których miejscach uchwyt płaski powinien zostać przymocowany do podłoża, a gdzie wsunięta powinna być linka od prowadzenia bocznego.
Za pomocą śruby w kontrze oraz śrubokręta płaskiego należy naprężyć linkę w uchwycie, jak pokazano na rysunku.
Mocowanie żaluzji zostało niemal zakończone. W dalszej kolejności należy wykonać kroki opisane w dziale „Zakończenie montażu żaluzji”.
4. Mocowanie żaluzji wolnowiszących bez prowadzenia bocznego, zaczepiane
Brak prowadzenia bocznego nie oznacza, że wolnowisząca żaluzja przy otwartym oknie będzie zwisała w dół. Aby przytrzymać ją przy szybie stosuje się tak zwane zakończenie rynny dolnej (ZRD). Stosuje się je dla żaluzji mocowanych w świetle szyby oraz mocowanych do ściany lub sufitu.

W belce dolnej żaluzji zamocowany jest trzpień, który wczepia się w uchwyt ZRD. Uchwyt ten, widoczny na rysunku, przymocowuje się w odpowiednim miejscu ramy okna lub ściany. Wybór tego miejsca jest uwarunkowany położeniem belki dolnej po całkowitym rozwinięciu żaluzji.
Mocowanie żaluzji zostało niemal zakończone. W dalszej kolejności należy wykonać kroki opisane w dziale „Zakończenie montażu żaluzji”.
5. Zakończenie montażu żaluzji
Po zawieszeniu żaluzji na uchwytach górnych oraz zainstalowaniu prowadzenia bocznego do wykonania zostaje tylko zamocowanie dzwonków na sznurkach.

W pierwszej kolejności należy opuścić żaluzję. Na zwisające sznurki zakładamy dzwonek (2 sznurki do 1 dzwonka).

Zawiązujemy pod nim supeł na pożądanej wysokości. Odcinamy nadmiar sznurka, jak na rysunku.

Odcinamy nadmiar sznurka, jak na rysunku.
Gratulacje! Twoja żaluzja jest już zamontowana!
Żaluzja pozioma aluminiowa 50mm – Sposoby Montażu
D. Sposób montażu żaluzji aluminiowej 50mm do sufitu
Do sufitu mocowane są zwykle żaluzje o dużej powierzchni. Żaluzja pozioma z lamelami aluminiowymi 50mm mocowana do sufitu pozwala na osłonięcie nie tylko wnęki okiennej, ale także na przykład części ściany.
1. Górne mocowanie żaluzji do sufitu
Górne mocowanie żaluzji do sufitu wykonywane jest za pomocą uchwytów typu Twist. Pozwalają one na stabilne i solidne utrzymanie rynny górnej żaluzji.

W przypadku montażu żaluzji do sufitu uchwyt typu Twist należy zamocować wkrętami (nie dołączone do zestawu) jak na rysunku. Czynność należy powtórzyć dla wszystkich uchwytów.

Mocowanie żaluzji należy wykonać na zamocowanych do podłoża uchwytach. UWAGA – uchwyty powinny znajdować się w pozycji otwartej, jak na rysunku.

Na zakończenie należy zablokować uchwyty przekręcając metalowe elementy zgodnie z rysunkiem.

Szczegół prawidłowego zamocowania rynny górnej w uchwytach twist pokazuje rysunek.
Górne mocowanie inwazyjne żaluzji aluminiowej 50mm do sufitu zostało zakończone. Przejdź do kroków związanych z prowadzeniem bocznym. W przypadku jego braku – żaluzja wolnowisząca, przejdź do kroku z zakończeniem montażu żaluzji.
2. Mocowanie prowadzenia bocznego – przykręcane do ściany
Żaluzja pozioma aluminiowa 50mm może być wyposażona w prowadzenie boczne, które pozwala na przytrzymanie w stabilnej pozycji także dolnej części żaluzji. W przypadku mocowania żaluzji do sufitu istnieją dwa alternatywne sposoby mocowania żaluzji z prowadzeniem bocznym. Jednym z nich jest prowadzenie boczne przykręcane do ściany.

W pierwszej kolejności przeciągnąć linkę przez sprężynę oraz kontrę, następnie zawinąć linkę i jej końcówkę włożyć z powrotem w kontrę Całość dokręcić małym płaskim śrubokrętem.

Następnie linkę stalową należy przeciągnąć przez otwór w rynnie oraz wszystkie otwory w krawędziach lamel aluminiowych.

Prowadzenie boczne przykręcane w przypadku montażu do ściany instalowane jest za pomocą uchwytu metalowego kątowego.
W przypadku montażu na ścianie lub suficie położenie mocowania prowadzenia bocznego należy wyznaczyć, obserwując położenie linki od prowadzenia bocznego przy całkowicie rozwiniętych żaluzjach.

Na rysunku pokazano, w których miejscach uchwyt kątowy powinien zostać przymocowany do podłoża, a gdzie wsunięta powinna być linka od prowadzenia bocznego.

Za pomocą śruby w kontrze oraz śrubokręta płaskiego należy naprężyć linkę w uchwycie, jak pokazano na rysunku. Nadmiar linki należy odciąć.
Mocowanie żaluzji zostało niemal zakończone. W dalszej kolejności należy wykonać kroki opisane w dziale „Zakończenie montażu żaluzji”.
3. Mocowanie prowadzenia bocznego – przykręcane do podłogi
Żaluzja aluminiowa 50mm może być wyposażona w prowadzenie boczne, które pozwala na przytrzymanie w stabilnej pozycji także dolnej części żaluzji. W przypadku mocowania żaluzji do ściany istnieją dwa alternatywne sposoby mocowania żaluzji z prowadzeniem bocznym. Jednym z nich jest prowadzenie boczne przykręcane do podłogi.

W pierwszej kolejności przeciągnąć linkę przez sprężynę oraz kontrę, następnie zawinąć linkę i jej końcówkę włożyć z powrotem w kontrę Całość dokręcić małym płaskim śrubokrętem.

Następnie linkę stalową należy przeciągnąć przez otwór w rynnie oraz wszystkie otwory w krawędziach lamel aluminiowych.

Prowadzenie boczne przykręcane do podłogi w przypadku montażu do ściany instalowane jest za pomocą uchwytu płaskiego metalowego.
W przypadku montażu na ścianie lub suficie położenie mocowania prowadzenia bocznego należy wyznaczyć, obserwując położenie linki od prowadzenia bocznego przy całkowicie rozwiniętych żaluzjach.

Na rysunku pokazano, w których miejscach uchwyt płaski powinien zostać przymocowany do podłoża, a gdzie wsunięta powinna być linka od prowadzenia bocznego.
Za pomocą śruby w kontrze oraz śrubokręta płaskiego należy naprężyć linkę w uchwycie, jak pokazano na rysunku.
Mocowanie żaluzji zostało niemal zakończone. W dalszej kolejności należy wykonać kroki opisane w dziale „Zakończenie montażu żaluzji”.
4. Mocowanie żaluzji wolnowiszących bez prowadzenia bocznego, zaczepiane
Brak prowadzenia bocznego nie oznacza, że wolnowisząca żaluzja przy otwartym oknie będzie zwisała w dół. Aby przytrzymać ją przy szybie stosuje się tak zwane zakończenie rynny dolnej (ZRD). Sposoby mocowania żaluzji za pomocą ZRD prezentuje poniższa instrukcja.

W belce dolnej żaluzji zamocowany jest trzpień, który wczepia się w uchwyt ZRD. Uchwyt ten, widoczny na rysunku, przymocowuje się w odpowiednim miejscu ramy okna lub ściany. Wybór tego miejsca jest uwarunkowany położeniem belki dolnej po całkowitym rozwinięciu żaluzji.
Mocowanie żaluzji zostało niemal zakończone. W dalszej kolejności należy wykonać kroki opisane w dziale „Zakończenie montażu żaluzji”.
5. Zakończenie montażu żaluzji
Po zawieszeniu żaluzji na uchwytach górnych oraz zainstalowaniu prowadzenia bocznego do wykonania zostaje tylko zamocowanie dzwonków na sznurkach.

W pierwszej kolejności należy opuścić żaluzję. Na zwisające sznurki zakładamy dzwonek (2 sznurki do 1 dzwonka).

Zawiązujemy pod nim supeł na pożądanej wysokości. Odcinamy nadmiar sznurka, jak na rysunku.

Odcinamy nadmiar sznurka, jak na rysunku.
Gratulacje! Twoja żaluzja jest już zamontowana!
Zapraszamy także do zapoznania się z filmami poglądowymi z prezentacją sposobów montażu żaluzji na naszym kanale: