Żaluzja pozioma drewniana 25mm – Inwazyjne i bezinwazyjne sposoby montażu żaluzji
Zapraszamy do zapoznania się z naszymi obszernymi instrukcjami montażu żaluzji drewnianych 25 mm w zależności od miejsca, w jakim planujesz zawiesić żaluzję oraz od sposobu montażu żaluzji – inwazyjnie, czy bezinwazyjnie.
Żaluzja pozioma drewniana 25mm może być zamocowana w świetle szyby. Dzięki wąskim lamelom stanowi świetną alternatywę dla produktów wykonanych z innych materiałów, na przykład dla żaluzji aluminiowych.
Żaluzja pozioma drewniana 25mm oferuje do wyboru następujące sposoby montażu żaluzji: w świetle szyby, na skrzydle okna, do wnęki okiennej, do ściany lub do sufitu. Do wyboru masz mocowanie inwazyjne lub bezinwazyjne. Wszystkie szczegóły montażu znajdziesz w poniższych instrukcjach.
Spis Treści
A. Żaluzja pozioma drewniana 25mm – montaż w świetle szyby
Istnieją różne sposoby montażu żaluzji z lamelami 25 mm wykonanych z drewna. Jednym z nich jest mocowanie osłony w świetle szyby. Wymaga ono przykręcenia uchwytów do listwy przyszybowej. Przed wyborem takiego rozwiązania warto uważnie przyjrzeć się swojemu oknu – w niektórych przypadkach przymocowanie uchwytu do listy przyszybowej może być trudne, a nawet niemożliwe. Warto przed zakupem żaluzji z takim montażem sprawdzić w danych technicznych wymiary i budowę uchwytu.
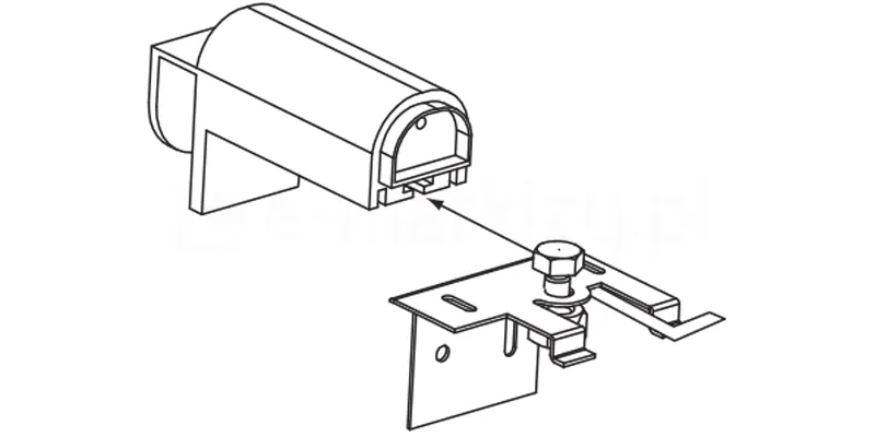
1. Mocowanie inwazyjne górne
W przypadku montażu żaluzji drewnianej 25 mm w świetle szyby konieczne jest mocowanie inwazyjne, czyli przykręcenie uchwytu do okna.

W przypadku montażu w świetle szyby uchwyt typu Twist należy zamocować wkrętami (nie dołączone do zestawu) jak na rysunku.

Szczegół mocowania do listwy przyszybowej pokazuje rysunek.

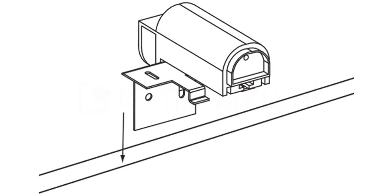
Mocowanie żaluzji należy wykonać na zamocowanych do podłoża uchwytach. UWAGA – uchwyty powinny znajdować się w pozycji otwartej, jak na rysunku.

Na zakończenie należy zablokować uchwyty przekręcając metalowe elementy zgodnie z rysunkiem.
Górne mocowanie inwazyjne żaluzji drewnianej zostało zakończone. Przejdź do kroków związanych z prowadzeniem bocznym. W przypadku jego braku – żaluzja wolnowisząca, wybierz krok z mocowaniem żaluzji wolnowiszącej lub przejdź do kroku z zakończeniem montażu żaluzji.
2. Mocowanie z prowadzeniem bocznym inwazyjnym
Żaluzja drewniana 25mm może być mocowana w świetle szyby z prowadzeniem bocznym lub w wersji wolnowiszącej. Mocowanie prowadzenia bocznego jest w tym przypadku wykonywane wyłącznie w wersji inwazyjnej – za pomocą uchwytu płaskiego metalowego.

W pierwszej kolejności przeciągnąć linkę przez sprężynę oraz kontrę, następnie zawinąć linkę i jej końcówkę włożyć z powrotem w kontrę. Całość dokręcić małym płaskim śrubokrętem.

Następnie linkę stalową należy przeciągnąć przez otwór w rynnie oraz wszystkie otwory w krawędziach lamel drewnianych.

Do mocowania dolnego żaluzji montowanej w świetle szyby stosuje się uchwyt płaski metalowy. Umiejscowienie tego uchwytu, w przypadku tego rodzaju montażu, pokazuje rysunek.

Na rysunku pokazano, w których miejscach uchwyt płaski powinien zostać przymocowany do podłoża, a gdzie wsunięta powinna być linka od prowadzenia bocznego.

Za pomocą śruby w kontrze oraz śrubokręta płaskiego należy naprężyć linkę w uchwycie, jak pokazano na rysunku.
Mocowanie żaluzji zostało niemal zakończone. W dalszej kolejności należy wykonać kroki opisane w dziale „Zakończenie montażu żaluzji”.
3. Mocowanie żaluzji wolnowiszących bez prowadzenia bocznego, zaczepiane
Brak prowadzenia bocznego nie oznacza, że wolnowisząca żaluzja przy otwartym oknie będzie zwisała w dół. Aby przytrzymać ją przy szybie stosuje się tak zwane zakończenie rynny dolnej (ZRD). Stosuje się je dla żaluzji mocowanych w świetle szyby oraz mocowanych do ściany lub sufitu.

W belce dolnej żaluzji zamocowany jest trzpień, który wczepia się w uchwyt ZRD. Uchwyt ten, widoczny na rysunku, przymocowuje się w odpowiednim miejscu ramy okna lub ściany. Wybór tego miejsca jest uwarunkowany położeniem belki dolnej po całkowitym rozwinięciu żaluzji.
Mocowanie żaluzji zostało niemal zakończone. W dalszej kolejności należy wykonać kroki opisane w dziale „Zakończenie montażu żaluzji”.
4. Zakończenie montażu
Po zawieszeniu żaluzji na uchwytach górnych oraz zainstalowaniu prowadzenia bocznego do wykonania zostaje tylko zamocowanie maskownicy oraz pokrętła i dzwonków na sznurkach.

Na boki rynny zamocować plastikowe nakładki (ZRG – Zakończenie rynny górnej). Na rynnę od frontu przymocować za pomocą magnesów (zainstalowane na osłonie) maskownicę drewnianą.

W pierwszej kolejności należy opuścić żaluzję. Na zwisające sznurki zakładamy drewniany dzwonek (2 sznurki do 1 dzwonka). Zawiązujemy pod nim supeł na pożądanej wysokości. Odcinamy nadmiar sznurka, jak na rysunku.

Aby założyć pokrętło, uprzednio należy na wystający element do sterowania nałożyć na uchwyt plastikową zatyczkę, jak na rysunku.

Następnie należy zamocować pokrętło drewniane zaczepiając hak o oczko w uchwycie. Zabezpieczyć zaczep zsuwając plastikową zatyczkę, jak na rysunku.
Gratulacje! Twoja żaluzja jest już zamontowana!
B. Żaluzja pozioma drewniana 25mm – montaż na skrzydle okna
Zawieszenie żaluzji drewnianej 25mm na skrzydle okna można wykonać na dwa sposoby: inwazyjnie lub bezinwazyjnie. Mocowanie bezinwazyjne pozwala na zawieszenie żaluzji drewnianych 25 mm bezpośrednio na skrzydle okna bez konieczności wiercenia. Rozwiązanie to polecane jest do mniejszych osłon okiennych. W przypadku dużych okien warto rozważyć inny sposób mocowania żaluzji.
1. Mocowanie inwazyjne górne
W przypadku montażu żaluzji drewnianej 25 mm na skrzydle okna możliwe jest mocowanie inwazyjne, czyli przykręcenie uchwytu do okna.

Mocowanie inwazyjne na skrzydle okna wykonuje się za pomocą uchwytu typu Twist. Uchwyt ten należy zamocować wkrętami (nie dołączone do zestawu) jak na rysunku.

Mocowanie żaluzji należy wykonać na zamocowanych do podłoża uchwytach. UWAGA – uchwyty powinny znajdować się w pozycji otwartej, jak na rysunku.

Na zakończenie należy zablokować uchwyty przekręcając metalowe elementy zgodnie z rysunkiem.
Górne mocowanie inwazyjne żaluzji drewnianej zostało zakończone. Przejdź do kroków związanych z prowadzeniem bocznym. W przypadku jego braku – żaluzja wolnowisząca, przejdź do kroku z zakończeniem montażu żaluzji.
2. Górne mocowanie bezinwazyjne żaluzji
Bezinwazyjny sposób montażu pozwala na zawieszenie żaluzji drewnianych 25 mm bezpośrednio na skrzydle okna bez konieczności wiercenia. Rozwiązanie to polecane jest do mniejszych osłon okiennych.

Górne mocowanie bezinwazyjne składa się z dwóch elementów: uchwytu metalowego typu Twist oraz wieszaka bezinwazyjnego. Aby zamocować żaluzję należy do metalowego uchwyty wkręcić od góry śrubę, a następnie od dołu dokręcić ją delikatnie nakrętką – NIE DO KOŃCA! Jak na rysunku.

Następnie uchwyt ze śrubą należy wsunąć w otwór wieszaka, jak na rysunku.

Uchwyt metalowy Twist należy dosunąć do samego końca, a następnie dokręcić do końca dolną nakrętkę, jak na rysunku.

Górny uchwyt bezinwazyjny jest gotowy do zawieszenia żaluzji na oknie. Należy nałożyć go na górną część ramy skrzydła okna, jak na rysunku.

W celu ustabilizowania uchwytów na ramie należy dokręcić śrubokrętem uchwyty w celu stabilizacji, jak pokazano na rysunku.

Żaluzję mocuje się na uchwytach w pozycji otwartej, jak na rysunku.

Aby zawiesić żaluzję należy zablokować uchwyty przekręcając metalowe elementy, jak pokazuje rysunek.
Bezinwazyjne mocowanie górne żaluzji drewnianej 50mm zostało zakończone. Przejdź do kroków związanych z prowadzeniem bocznym. W przypadku jego braku – żaluzja wolnowisząca, przejdź do kroku z zakończeniem montażu żaluzji.
3. Mocowanie z prowadzeniem bocznym inwazyjnym
Żaluzje mocowane na skrzydle okna mogą występować w wersji wolnowiszącej, bądź w wersji z prowadzeniem bocznym. W przypadku tego sposobu montażu żaluzji najczęściej wybierane jest jednak prowadzenie boczne, które pozwala na przytrzymanie dolnej części wiszącej żaluzji blisko okna. Szczególną rolę odgrywa to mocowanie w przypadku okien uchylnych.

W pierwszej kolejności przeciągnąć linkę przez sprężynę oraz kontrę, następnie zawinąć linkę i jej końcówkę włożyć z powrotem w kontrę. Całość dokręcić małym płaskim śrubokrętem.

Następnie linkę stalową należy przeciągnąć przez otwór w rynnie oraz wszystkie otwory w krawędziach lamel drewnianych.

Inwazyjne mocowanie żaluzji do skrzydła okna w przypadku prowadzenia bocznego wykonywane jest za pomocą uchwytu metalowego kątowego przykręcanego do ramy okna.
Mocowanie uchwytu kątowego w przypadku montażu żaluzji na skrzydle okna pokazuje rysunek.

Na rysunku pokazano, w których miejscach uchwyt kątowy powinien zostać przymocowany do podłoża, a gdzie wsunięta powinna być linka od prowadzenia bocznego.

Za pomocą śruby w kontrze oraz śrubokręta płaskiego należy naprężyć linkę w uchwycie, jak pokazano na rysunku. Nadmiar linki należy odciąć.
Mocowanie żaluzji zostało niemal zakończone. W dalszej kolejności należy wykonać kroki opisane w dziale „Zakończenie montażu żaluzji”.
4. Mocowanie z prowadzeniem bocznym bezinwazyjnym
Montaż żaluzji poziomej drewnianej 25mm na skrzydle okna może obejmować mocowanie z prowadzeniem bocznym bezinwazyjnym. Prowadzenie to pozwala na przytrzymanie dolnej części wiszącej żaluzji blisko szyby, co jest szczególnie pożądane w przypadku okien uchylnych.

Dolne mocowanie żaluzji zawieszanych bezinwazyjnie z prowadzeniem bocznym rozpocząć należy od zamocowania uchwytów bezinwazyjnych linki na dole skrzydła okna, jak na rysunku.

Następnie należy przykręcić uchwyt za pomocą śrubokręta krzyżakowego. Dzięki temu uchwyt zostanie ustabilizowany, jak na rysunku.

Linkę prowadzenia bocznego należy wprowadzić w kontrę (a), jak pokazano na rysunku. Następnie dokręcić małym płaskim śrubokrętem (b). Tak przygotowaną linkę należy wsunąć w otwór dolnego uchwytu bezinwazyjnego (c).

Na zakończenie na dolny uchwyt bezinwazyjny należy nałożyć plastikową zaślepkę – jak pokazano na rysunku.
Mocowanie żaluzji zostało niemal zakończone. W dalszej kolejności należy wykonać kroki opisane w dziale „Zakończenie montażu żaluzji”.
5. Mocowanie żaluzji wolnowiszących bez prowadzenia bocznego, zaczepiane
Brak prowadzenia bocznego nie oznacza, że wolnowisząca żaluzja przy otwartym oknie będzie zwisała w dół. Aby przytrzymać ją przy szybie stosuje się tak zwane zakończenie rynny dolnej (ZRD). Stosuje się je dla żaluzji mocowanych w świetle szyby oraz mocowanych do ściany lub sufitu.

W belce dolnej żaluzji zamocowany jest trzpień, który wczepia się w uchwyt ZRD. Uchwyt ten, widoczny na rysunku, przymocowuje się w odpowiednim miejscu ramy okna lub ściany. Wybór tego miejsca jest uwarunkowany położeniem belki dolnej po całkowitym rozwinięciu żaluzji.
Mocowanie żaluzji zostało niemal zakończone. W dalszej kolejności należy wykonać kroki opisane w dziale „Zakończenie montażu żaluzji”.
6. Zakończenie montażu żaluzji
Po zawieszeniu żaluzji na uchwytach górnych oraz zainstalowaniu prowadzenia bocznego do wykonania zostaje tylko zamocowanie maskownicy oraz pokrętła i dzwonków na sznurkach.

W przypadku mocowania bezinwazyjnego na boki rynny zamocować plastikowe nakładki (ZRG – Zakończenie rynny górnej). Na rynnę od frontu przymocować za pomocą magnesów (zainstalowane na osłonie) maskownicę drewnianą.

Żaluzję mocowaną inwazyjnie na skrzydle okna należy następnie w pełni rozwinąć. Na boki rynny zamocować plastikowe nakładki (ZRG – Zakończenie rynny górnej). Na rynnę od frontu przymocować za pomocą magnesów (zainstalowane na osłonie) maskownicę drewnianą.

Na zwisające sznurki zakładamy drewniany dzwonek (2 sznurki do 1 dzwonka). Zawiązujemy pod nim supeł na pożądanej wysokości. Odcinamy nadmiar sznurka, jak na rysunku.

Aby założyć pokrętło, uprzednio należy na wystający element do sterowania nałożyć na uchwyt plastikową zatyczkę, jak na rysunku.

Następnie należy zamocować pokrętło drewniane zaczepiając hak o oczko w uchwycie. Zabezpieczyć zaczep zsuwając plastikową zatyczkę, jak na rysunku.
Gratulacje! Twoja żaluzja jest już zamontowana!
C. Żaluzja pozioma drewniana 25mm – montaż do wnęki okiennej
Żaluzje drewniane 25 mm cechują wąskie lamele, które nadają osłonie lekkości. Dzięki możliwości montażu osłony we wnęce okiennej pozwalają one na uzyskanie estetycznej osłony okna bez konieczności wiercenia w ramie.
1. Mocowanie inwazyjne górne
W przypadku montażu żaluzji drewnianej 25 mm do wnęki okiennej konieczne jest mocowanie inwazyjne, czyli przykręcenie uchwytu do powierzchni górnej wnęki.

W przypadku montażu do wnęki okiennej uchwyt typu Twist należy zamocować wkrętami (nie dołączone do zestawu) jak na rysunku.

Mocowanie żaluzji należy wykonać na zamocowanych do podłoża uchwytach. UWAGA – uchwyty powinny znajdować się w pozycji otwartej, jak na rysunku.

Na zakończenie należy zablokować uchwyty przekręcając metalowe elementy zgodnie z rysunkiem.
Górne mocowanie inwazyjne żaluzji drewnianej zostało zakończone. Przejdź do kroków związanych z prowadzeniem bocznym. W przypadku jego braku – żaluzja wolnowisząca, przejdź do kroku z zakończeniem montażu żaluzji.
2. Mocowanie prowadzenia bocznego
Żaluzje drewniane montowane do wnęki mogą występować w wersji wolnowiszącej, bądź w wersji z prowadzeniem bocznym. W tym przypadku prowadzenie boczne mocowane jest do podłoża (podłogi lub parapetu) za pomocą uchwytów płaskich metalowych.

W pierwszej kolejności przeciągnąć linkę przez sprężynę oraz kontrę, następnie zawinąć linkę i jej końcówkę włożyć z powrotem w kontrę. Całość dokręcić małym płaskim śrubokrętem.

Następnie linkę stalową należy przeciągnąć przez otwór w rynnie oraz wszystkie otwory w krawędziach lamel drewnianych.

Prowadzenie boczne przykręcane do podłogi lub parapetu w przypadku montażu do wnęki instalowane jest za pomocą uchwytu płaskiego metalowego.
W przypadku montażu na wnęce położenie mocowania prowadzenia bocznego należy wyznaczyć, obserwując położenie linki od prowadzenia bocznego przy całkowicie rozwiniętych żaluzjach.

Na rysunku pokazano, w których miejscach uchwyt płaski powinien zostać przymocowany do podłoża, a gdzie wsunięta powinna być linka od prowadzenia bocznego.
Za pomocą śruby w kontrze oraz śrubokręta płaskiego należy naprężyć linkę w uchwycie, jak pokazano na rysunku.
Mocowanie żaluzji zostało niemal zakończone. W dalszej kolejności należy wykonać kroki opisane w dziale „Zakończenie montażu żaluzji”.
3. Zakończenie montażu żaluzji
Po zawieszeniu żaluzji na uchwytach górnych oraz zainstalowaniu prowadzenia bocznego do wykonania zostaje tylko zamocowanie maskownicy oraz pokrętła i dzwonków na sznurkach.

Na boki rynny zamocować plastikowe nakładki (ZRG – Zakończenie rynny górnej). Na rynnę od frontu przymocować za pomocą magnesów (zainstalowane na osłonie) maskownicę drewnianą.

W pierwszej kolejności należy opuścić żaluzję. Na zwisające sznurki zakładamy drewniany dzwonek (2 sznurki do 1 dzwonka). Zawiązujemy pod nim supeł na pożądanej wysokości. Odcinamy nadmiar sznurka, jak na rysunku.

Aby założyć pokrętło, uprzednio należy na wystający element do sterowania nałożyć na uchwyt plastikową zatyczkę, jak na rysunku.

Następnie należy zamocować pokrętło drewniane zaczepiając hak o oczko w uchwycie. Zabezpieczyć zaczep zsuwając plastikową zatyczkę, jak na rysunku.
Gratulacje! Twoja żaluzja jest już zamontowana!
D. Żaluzja pozioma drewniana 25mm – montaż do ściany
Jednym ze sposobów montażu żaluzji drewnianych 25 mm jest mocowanie ich do ściany. Takie rozwiązanie doskonale sprawdza się do osłonięcia dużych okien.
1. Mocowanie inwazyjne górne
W przypadku montażu żaluzji drewnianej 25 mm na ścianie konieczne jest mocowanie inwazyjne, czyli przykręcenie uchwytu do powierzchni ściany.

Mocowanie inwazyjne żaluzji do ściany wykonuje się za pomocą uchwytu typu Twist. Uchwyt ten należy zamocować wkrętami (nie dołączone do zestawu) jak na rysunku.

Mocowanie żaluzji należy wykonać na zamocowanych do podłoża uchwytach. UWAGA – uchwyty powinny znajdować się w pozycji otwartej, jak na rysunku.

Na zakończenie należy zablokować uchwyty przekręcając metalowe elementy zgodnie z rysunkiem.
Górne mocowanie inwazyjne żaluzji drewnianej zostało zakończone. Przejdź do kroków związanych z prowadzeniem bocznym. W przypadku jego braku – żaluzja wolnowisząca, przejdź do kroku z zakończeniem montażu żaluzji.
2. Mocowanie prowadzenia bocznego – przykręcane do ściany
Żaluzja drewniana 25mm może być wyposażona w prowadzenie boczne, które pozwala na przytrzymanie w stabilnej pozycji także dolnej części żaluzji. W przypadku mocowania żaluzji do ściany istnieją dwa alternatywne sposoby mocowania żaluzji z prowadzeniem bocznym. Jednym z nich jest prowadzenie boczne przykręcane do ściany.

W pierwszej kolejności przeciągnąć linkę przez sprężynę oraz kontrę, następnie zawinąć linkę i jej końcówkę włożyć z powrotem w kontrę. Całość dokręcić małym płaskim śrubokrętem.

Następnie linkę stalową należy przeciągnąć przez otwór w rynnie oraz wszystkie otwory w krawędziach lamel drewnianych.

Prowadzenie boczne przykręcane w przypadku montażu do ściany instalowane jest za pomocą uchwytu metalowego kątowego.
W przypadku montażu na ścianie lub suficie położenie mocowania prowadzenia bocznego należy wyznaczyć, obserwując położenie linki od prowadzenia bocznego przy całkowicie rozwiniętych żaluzjach.

Na rysunku pokazano, w których miejscach uchwyt kątowy powinien zostać przymocowany do podłoża, a gdzie wsunięta powinna być linka od prowadzenia bocznego.

Za pomocą śruby w kontrze oraz śrubokręta płaskiego należy naprężyć linkę w uchwycie, jak pokazano na rysunku. Nadmiar linki należy odciąć.
Mocowanie żaluzji zostało niemal zakończone. W dalszej kolejności należy wykonać kroki opisane w dziale „Zakończenie montażu żaluzji”.
3. Mocowanie prowadzenia bocznego – przykręcane do podłogi
Żaluzja pozioma drewniana 25mm może być wyposażona w prowadzenie boczne, które pozwala na przytrzymanie w stabilnej pozycji także dolnej części żaluzji. W przypadku mocowania żaluzji do ściany istnieją dwa alternatywne sposoby mocowania żaluzji z prowadzeniem bocznym. Jednym z nich jest prowadzenie boczne przykręcane do podłogi.

W pierwszej kolejności przeciągnąć linkę przez sprężynę oraz kontrę, następnie zawinąć linkę i jej końcówkę włożyć z powrotem w kontrę. Całość dokręcić małym płaskim śrubokrętem.

Następnie linkę stalową należy przeciągnąć przez otwór w rynnie oraz wszystkie otwory w krawędziach lamel drewnianych.

Prowadzenie boczne przykręcane do podłogi w przypadku montażu do ściany instalowane jest za pomocą uchwytu płaskiego metalowego.
W przypadku montażu na ścianie lub suficie położenie mocowania prowadzenia bocznego należy wyznaczyć, obserwując położenie linki od prowadzenia bocznego przy całkowicie rozwiniętych żaluzjach.

Na rysunku pokazano, w których miejscach uchwyt płaski powinien zostać przymocowany do podłoża, a gdzie wsunięta powinna być linka od prowadzenia bocznego.
Za pomocą śruby w kontrze oraz śrubokręta płaskiego należy naprężyć linkę w uchwycie, jak pokazano na rysunku.
Mocowanie żaluzji zostało niemal zakończone. W dalszej kolejności należy wykonać kroki opisane w dziale „Zakończenie montażu żaluzji”.
4. Mocowanie żaluzji wolnowiszących bez prowadzenia bocznego, zaczepiane
Brak prowadzenia bocznego nie oznacza, że wolnowisząca żaluzja przy otwartym oknie będzie zwisała w dół. Aby przytrzymać ją przy szybie stosuje się tak zwane zakończenie rynny dolnej (ZRD). Stosuje się je dla żaluzji mocowanych w świetle szyby oraz mocowanych do ściany lub sufitu.

W belce dolnej żaluzji zamocowany jest trzpień, który wczepia się w uchwyt ZRD. Uchwyt ten, widoczny na rysunku, przymocowuje się w odpowiednim miejscu ramy okna lub ściany. Wybór tego miejsca jest uwarunkowany położeniem belki dolnej po całkowitym rozwinięciu żaluzji.
Mocowanie żaluzji zostało niemal zakończone. W dalszej kolejności należy wykonać kroki opisane w dziale „Zakończenie montażu żaluzji”.
5. Zakończenie montażu żaluzji
Po zawieszeniu żaluzji na uchwytach górnych oraz zainstalowaniu prowadzenia bocznego do wykonania zostaje tylko zamocowanie maskownicy oraz pokrętła i dzwonków na sznurkach.

Na boki rynny zamocować plastikowe nakładki (ZRG – Zakończenie rynny górnej). Na rynnę od frontu przymocować za pomocą magnesów (zainstalowane na osłonie) maskownicę drewnianą.

W pierwszej kolejności należy opuścić żaluzję. Na zwisające sznurki zakładamy drewniany dzwonek (2 sznurki do 1 dzwonka). Zawiązujemy pod nim supeł na pożądanej wysokości. Odcinamy nadmiar sznurka, jak na rysunku.

Aby założyć pokrętło, uprzednio należy na wystający element do sterowania nałożyć na uchwyt plastikową zatyczkę, jak na rysunku.

Następnie należy zamocować pokrętło drewniane zaczepiając hak o oczko w uchwycie. Zabezpieczyć zaczep zsuwając plastikową zatyczkę, jak na rysunku.
Gratulacje! Twoja żaluzja jest już zamontowana!
E. Żaluzja pozioma drewniana 25mm – montaż do sufitu
Do sufitu mocowane są zwykle żaluzje o dużej powierzchni. Żaluzja pozioma drewniana 25mm mocowana do sufitu pozwala na osłonięcie nie tylko wnęki okiennej, ale także na przykład części ściany.
1. Mocowanie inwazyjne górne
W przypadku montażu żaluzji drewnianej 25 mm do sufitu konieczne jest mocowanie inwazyjne, czyli przykręcenie uchwytu do okna.

W przypadku montażu żaluzji do sufitu uchwyt typu Twist należy zamocować wkrętami (nie dołączone do zestawu) jak na rysunku.

Mocowanie żaluzji należy wykonać na zamocowanych do podłoża uchwytach. UWAGA – uchwyty powinny znajdować się w pozycji otwartej, jak na rysunku.

Na zakończenie należy zablokować uchwyty przekręcając metalowe elementy zgodnie z rysunkiem.
Górne mocowanie inwazyjne żaluzji drewnianej zostało zakończone. Przejdź do kroków związanych z prowadzeniem bocznym. W przypadku jego braku – żaluzja wolnowisząca, przejdź do kroku z zakończeniem montażu żaluzji.
2. Mocowanie prowadzenia bocznego – przykręcane do ściany
Żaluzja pozioma drewniana 25mm może być wyposażona w prowadzenie boczne, które pozwala na przytrzymanie w stabilnej pozycji także dolnej części żaluzji. W przypadku mocowania żaluzji do sufitu istnieją dwa alternatywne sposoby mocowania żaluzji z prowadzeniem bocznym. Jednym z nich jest prowadzenie boczne przykręcane do ściany.

W pierwszej kolejności przeciągnąć linkę przez sprężynę oraz kontrę, następnie zawinąć linkę i jej końcówkę włożyć z powrotem w kontrę. Całość dokręcić małym płaskim śrubokrętem.

Następnie linkę stalową należy przeciągnąć przez otwór w rynnie oraz wszystkie otwory w krawędziach lamel drewnianych.

Prowadzenie boczne przykręcane w przypadku montażu do ściany instalowane jest za pomocą uchwytu metalowego kątowego.
W przypadku montażu na ścianie lub suficie położenie mocowania prowadzenia bocznego należy wyznaczyć, obserwując położenie linki od prowadzenia bocznego przy całkowicie rozwiniętych żaluzjach.

Na rysunku pokazano, w których miejscach uchwyt kątowy powinien zostać przymocowany do podłoża, a gdzie wsunięta powinna być linka od prowadzenia bocznego.

Za pomocą śruby w kontrze oraz śrubokręta płaskiego należy naprężyć linkę w uchwycie, jak pokazano na rysunku. Nadmiar linki należy odciąć.
Mocowanie żaluzji zostało niemal zakończone. W dalszej kolejności należy wykonać kroki opisane w dziale „Zakończenie montażu żaluzji”.
3. Mocowanie prowadzenia bocznego – przykręcane do podłogi
Żaluzja drewniana 25mm może być wyposażona w prowadzenie boczne, które pozwala na przytrzymanie w stabilnej pozycji także dolnej części żaluzji. W przypadku mocowania żaluzji do ściany istnieją dwa alternatywne sposoby mocowania żaluzji z prowadzeniem bocznym. Jednym z nich jest prowadzenie boczne przykręcane do podłogi.

W pierwszej kolejności przeciągnąć linkę przez sprężynę oraz kontrę, następnie zawinąć linkę i jej końcówkę włożyć z powrotem w kontrę. Całość dokręcić małym płaskim śrubokrętem.

Następnie linkę stalową należy przeciągnąć przez otwór w rynnie oraz wszystkie otwory w krawędziach lamel drewnianych.

Prowadzenie boczne przykręcane do podłogi w przypadku montażu do ściany instalowane jest za pomocą uchwytu płaskiego metalowego.
W przypadku montażu na ścianie lub suficie położenie mocowania prowadzenia bocznego należy wyznaczyć, obserwując położenie linki od prowadzenia bocznego przy całkowicie rozwiniętych żaluzjach.

Na rysunku pokazano, w których miejscach uchwyt płaski powinien zostać przymocowany do podłoża, a gdzie wsunięta powinna być linka od prowadzenia bocznego.
Za pomocą śruby w kontrze oraz śrubokręta płaskiego należy naprężyć linkę w uchwycie, jak pokazano na rysunku.
Mocowanie żaluzji zostało niemal zakończone. W dalszej kolejności należy wykonać kroki opisane w dziale „Zakończenie montażu żaluzji”.
4. Mocowanie żaluzji wolnowiszących bez prowadzenia bocznego, zaczepiane
Brak prowadzenia bocznego nie oznacza, że wolnowisząca żaluzja przy otwartym oknie będzie zwisała w dół. Aby przytrzymać ją przy szybie stosuje się tak zwane zakończenie rynny dolnej (ZRD). Sposoby mocowania żaluzji za pomocą ZRD prezentuje poniższa instrukcja.

W belce dolnej żaluzji zamocowany jest trzpień, który wczepia się w uchwyt ZRD. Uchwyt ten, widoczny na rysunku, przymocowuje się w odpowiednim miejscu ramy okna lub ściany. Wybór tego miejsca jest uwarunkowany położeniem belki dolnej po całkowitym rozwinięciu żaluzji.
Mocowanie żaluzji zostało niemal zakończone. W dalszej kolejności należy wykonać kroki opisane w dziale „Zakończenie montażu żaluzji”.
5. Zakończenie montażu żaluzji
Po zawieszeniu żaluzji na uchwytach górnych oraz zainstalowaniu prowadzenia bocznego do wykonania zostaje tylko zamocowanie maskownicy oraz pokrętła i dzwonków na sznurkach.

Na boki rynny zamocować plastikowe nakładki (ZRG – Zakończenie rynny górnej). Na rynnę od frontu przymocować za pomocą magnesów (zainstalowane na osłonie) maskownicę drewnianą.

W pierwszej kolejności należy opuścić żaluzję. Na zwisające sznurki zakładamy drewniany dzwonek (2 sznurki do 1 dzwonka). Zawiązujemy pod nim supeł na pożądanej wysokości. Odcinamy nadmiar sznurka, jak na rysunku.

Aby założyć pokrętło, uprzednio należy na wystający element do sterowania nałożyć na uchwyt plastikową zatyczkę, jak na rysunku.

Następnie należy zamocować pokrętło drewniane zaczepiając hak o oczko w uchwycie. Zabezpieczyć zaczep zsuwając plastikową zatyczkę, jak na rysunku.
Gratulacje! Twoja żaluzja jest już zamontowana!
Zapraszamy także do zapoznania się z filmami poglądowymi z prezentacją sposobów montażu żaluzji na naszym kanale: