Refleksol Ziiip 95 Selt – kaseta kwadratowa
- Szerokość: od 58 do 270 cm
- Wysokość: od 40 do 300 cm
- Napęd elektryczny
- Montaż zewnętrzny
Informacje
Refleksol Ziiip 95
Refleksol 95 Ziiip to system kasetowy automatyczny. Kaseta wykonana z ekstrudowanego aluminium do montażu wnękowego lub ściennego. Dwuczęściowa prowadnica z systemem uszczelek kompensujących Refleksol wnękowy ziiip dzięki rozbudowanemu systemowi uszczelek kompensujących umożliwia pełne zaciemnienie nawet przy dużych nierównościach na elewacji budynku. Jest to jedyne rozwiązanie tego typu do stosowania na zewnątrz. Refleksol standardowo wyposażony jest w sterowanie elektryczne.
Refleksol Ziiip 95 to roleta tekstylna zaprojektowana tak, aby tkanina pozostawała w ciągłym napięciu niezależnie od położenia. Takie rozwiązanie pozwala cieszyć się funkcjonalnością rolety nawet przy silnych, porywistych wiatrach. Rolety do powierzchni pionowych typu Refleksol to najlepsze rozwiązanie do zachowania stałej temperatury pomieszczeń nasłonecznionych. Konstrukcja refleksoli może być lakierowana na dowolny kolor z palety RAL. Dostępna jest szeroka gama tkanin o różnych właściwościach odbijających światło słoneczne.
Refleksol 95 Zip Selt to samonośna roleta zewnętrzna o kompaktowych wymiarach. Maksymalna szerokość osłony to 2,7m, a wysokość 3m.
Cechy Charakterystyczne Refleksola
|
|
Możliwe Opcje Refleksola
- Napęd elektryczny (w standardzie)
- Pilot z centralką (opcja dodatkowo płatna)
- Czujniki wiatru lub słońca (opcja dodatkowo płatna)
Refleksol może być wyposażony w wiele dodatkowych opcji. Aby zobaczyć więcej i wycenić dodatkowe opcje, skonfiguruj swoją osłonę.
Pomiar Refleksola
Refleksol Ziiip 95 produkowany jest na wymiar. Maksymalna szerokość to 270cm a wysokość to 300cm. Do zamówienia lub wyceny podajemy zawsze całkowity zewnętrzny wymiar osłony, łącznie z kasetą.
Refleksol 120 Ziiip – Komponenty
– kaseta refleksola
– klipy montażowe
– prowadnica aluminiowa
– belka dolna
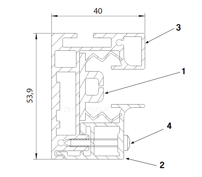
Profil Prowadnicy Refleksola
1. Profil prowadzący (zygzak)
2. Prowadnica G40Z-Rewizja
3. Prowadnica G40Z-02 (część stała)
4. Wkręt mocujący
Belka dolna FG51
Napęd i Automatyka do Refleksoli
- Standardowo refleksol jest wyposażony w silnik elektryczny, który automatycznie zwija i rozwija osłonę.
- Do osłony z silnikiem można dobrać Pilot bezprzewodowy z centralką sterującą
- Do osłony z silnikiem można dobrać Czujnik wiatru, Czujnik słońca
Kolory Tkanin Refleksoli
Szeroki wachlarz tkanin, pozwala na dopasowanie koloru rolety do architektury budynku oraz dobór odpowiedniego współczynnika przenikania promieni słonecznych. System wyposażony został w system naciągu tkaniny, który utrzymuje jej napięcie nawet na dużych powierzchniach. Tkaniny akrylowe to kolekcja stosowana głównie w markizach, tkaniny typu Screen są połączeniem PCV i poliestru, zależnie od wybranej grupy posiadają inne właściwości takie jak przepuszczalność światła czy dźwięku.
ZOBACZ ZDJĘCIA REFLEKSOLA
Filmy
Montaż refleksola do pergoli
Często zadawane pytania
Tak, refleksol posiada kasetę prostokątną


