Masz pytania? Potrzebujesz pomocy? Zadzwoń +48 518 075 074

Menu

Instrukcja pomiaru markizy balkonowej w kasecie Italia Selt

Pomiar i Dane Techniczne markizy balkonowej w kasecie: Markiza Italia posiada dwa główne wymiary na podstawie których robiona jest wycena. Pierwszy to całkowita szerokość markizy, a drugi wysięg markizy (wysuw). Wymagane wymiary podawane są w cm., norma produkcyjna przewiduje tolerancję wymiarów szerokości -+2cm. W zależności od szerokości całej konstrukcji, producent przewiduje inną ilość uchwytów mocujących. Wysokość konstrukcji zależna jest od wybranego modelu i nie wpływa ona na cenę. Instrukcja pomiaru markizy balkonowej przedstawiona jest na obrazku obok.

DOSTĘPNE WYMIARY:
Szerokość S: od 110 do 500 cm
Wysięg W: od 70 do 140 cm
Długość poszycia na belce T (bez uwzględnienia falbany): do 314 cm

Wyceń Markizę w Kasecie – Kliknij Tutaj



Maksymalny wysięg ramion markizy balkonowej Italia w kasecie to 140cm, jest to całkowity wymiar markizy wraz z uchwytami ramion, belką nawojową oraz belką przednią



Pomiar i Dane Techniczne markizy balkonowej w kasecie Italia Selt

Pomiar markizy balkonowo sklepowej z ramionami ściennymi

Pomiar markizy balkonowo sklepowej z ramionami ściennymi W zamówieniu podajemy zewnętrzny wymiar markizy (S) łącznie z uchwytami, w przypadku napędu manualnego nie uwzględniamy wału korbowego. Podajemy jeszcze wymiar (W) czyli długość ramion

W wariancie (S), ramiona montujemy do ściany. Mamy do wyboru 3 długości: 100,140 i 180cm. Długość ramion to w tym przypadku wysięg markizy. (na rurze nawojowej niezależnie od długości ramion, nawinięta jest tkanina o długości 210cm).

Kręcąc korbą w prawo lub w lewo zwijamy lub rozwijamy markizę. Dodatkowo możemy zamontować napęd elektryczny z czujnikami


Wymiary wału korbowego oraz zaślepek kasety

• Wał korbowy 35mm

• zaślepki kasety 14,3mm

W przypadku napędu ręcznego, należy wykluczyć te wymiary podczas podawania szerokości S.


Markiza Balkonowa Italia Kasetowa Selt – Dane Techniczne

Maksymalna szerokość do 5,0 m
Wysięg ramion do 1,4 m
Średnica rury nawojowej 70 mm
Ramiona Opuszczane, aluminiowe , ze sprężyną
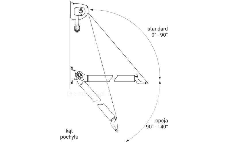
Kąt pochyłu od 0° – do 140°
Napęd elektryczny lub korba o długości 1,5 m; 1,8 m; 2,2 m
Półkaseta tak
Kolor konstrukcji RAL 9010 MAT Biel alpejska, RAL 1015 MAT Kość słoniowa, RAL 8014 MAT Brązowy, RAL 9006 MAT Srebrny, FSM 71319 MAT Grafit drobna struktura, RAL 7016 STR Szary antracyt struktura, RAL 9005 STR Czarny struktura
Tkanina ponad 100 kolorów, tkanina akrylowa powlekana teflonem
Falbana wysokość 21cm, 3 wzory do wyboru, możliwość zamówienia bez falbany, możliwość szybkiego demontażu falbany we własnym zakresie przez jej wysunięcie
Uchwyty montażowe Ścienne / Sufitowe/ wspornik wnękowy (dla ramion)

Italia Balkonowa w Kasecie Selt – Sposoby mocowania

– montaż do ściany
– montaż do sufitu

Zobacz sposoby montażu markizy


Markiza Italia z Kasetą – Kąt pochyłu

Płynna regulacja w zakresie 0° – 90°
markiza posiada regulowany kąt pochyłu, który możemy dostosować do swoich potrzeb



Zespalanie uchwytów markizy

1. Łączenie uchwytu ściennego i sufitowego
2. Łączenie uchwytu ramienia i wspornika wnękowego


Sterowanie markizą balkonową w kasecie

Standardowa korba ręczna o długości 150cm. Niestandardowe długości korby to 180cm lub 220cm.
Opcjonalnie silnik elektryczny.

Zobacz informacje o sterowaniu elektrycznym


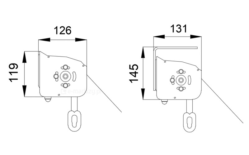
Komponenty Markizy Italia Selt w Kasecie

1 – Kaseta Italia
2 – Uchwyt sufitowy
3 – Tkanina
4 – Falbana
5 – Zespół belki przedniej
6 – Ramię
7 – Uchwyt ramienia – ścienny
8 – Mechanizm korbowy (opcja)
9 – Korba (opcja)
10 – Pokrywa kasety Italia


Strona dotyczy markizy balkonowej Italia firmy Selt wykonywanej na wymiar zgodnie z informacjami podanymi podczas zamówienia w konfiguratorze produktu. Więcej informacji można znaleźć w konfiguratorze lub na pozostałych podstronach produktu.